授权公布号:CN207032540U
一种建筑节能保温板
有效
申请
2017-08-15
申请公布
1970-01-01
授权
2018-02-23
预估到期
2027-08-15
| 申请号 | CN201721016323.5 |
| 申请日 | 2017-08-15 |
| 授权公布号 | CN207032540U |
| 授权公告日 | 2018-02-23 |
| 分类号 | E04B1/80 |
| 分类 | 建筑物; |
| 申请人名称 | 浙江科达新型建材有限公司 |
| 申请人地址 | 浙江省绍兴市嵊州市甘霖工业区浙江科达新型建材有限公司 |
专利法律状态
2018-02-23
授权
状态信息
授权
摘要
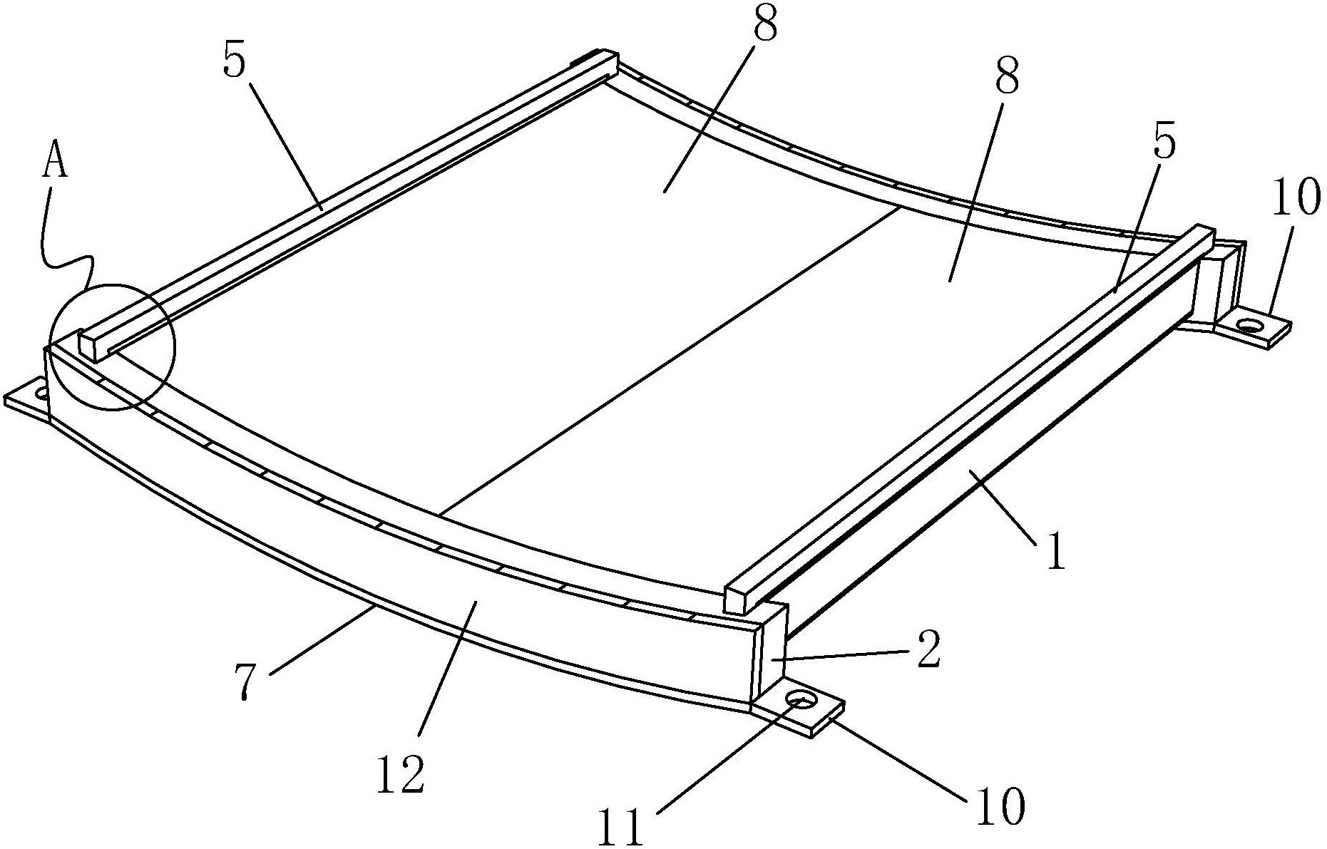
本实用新型公开了一种建筑节能保温板,包括板体和扣块,板体呈圆弧结构,扣块呈圆弧结构,板体的两侧均设有凸块,凸块与板体为一体结构,扣块设有卡槽,凸块与卡槽相匹配,凸块设于卡槽中,两个扣块之间设有连接杆,扣块设有安装孔,连接杆焊接于安装孔中,扣块的底部焊接有钢板,钢板的顶面紧贴扣块的底面。本实用新型能在圆弧形的建筑物外围护结构处施工,施工操作简单,易控制,施工周期短,而且板体能贴合建筑物外围护结构,起到装饰、保温、防水、节能安全的效果。


