授权公布号:CN214878815U
一种自动化防水卷材收卷设备
有效
申请
2020-12-31
申请公布
1970-01-01
授权
2021-11-26
预估到期
2030-12-31
| 申请号 | CN202023320586.X |
| 申请日 | 2020-12-31 |
| 授权公布号 | CN214878815U |
| 授权公告日 | 2021-11-26 |
| 分类号 | B65H18/06;B65H18/10;B65H23/035 |
| 分类 | 输送;包装;贮存;搬运薄的或细丝状材料; |
| 申请人名称 | 天津市禹神建筑防水材料有限公司 |
| 申请人地址 | 天津市北辰区双口镇津永公路北侧(天津市东方盛景园艺场院内) |
专利法律状态
2021-11-26
授权
状态信息
授权
摘要
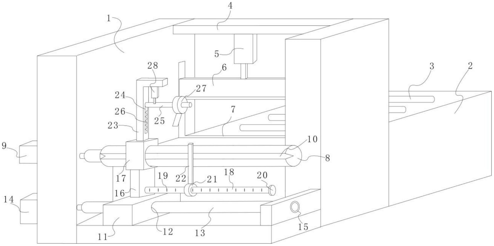
本实用新型涉及一种自动化防水卷材收卷设备,包括机架,机架前端设有送料机构;机架中部设有切割机构;机架后端设有收卷机构;收卷机构包括与机架旋转连接的收卷辊;收卷辊的左端与设置在机架外侧的第一伺服电机贯穿机架的输出转轴末端固定连接,收卷辊的右端悬空,收卷辊内设有水平方向的长条豁口;机架底板的顶面上设有滑台,滑台内设有螺纹杆;滑台顶面设有连接板,连接板顶部固接有套设在收卷辊外圆周表面的活动套。通过将收卷辊替代传统纸筒穿装在卷轴上,本收卷设备操作简单而且节省纸筒资源,自动化代替人工从而降低了的劳动强度大,提高了生产效率,安全性高,一定程度上增加了企业的效益;还可以满足不同宽度的防水卷材进行收卷操作。


