授权公布号:CN218518155U
一种用于人工关节五轴加工的定位装夹工装
有效
申请
2022-03-30
申请公布
1970-01-01
授权
2023-02-24
预估到期
2032-03-30
| 申请号 | CN202220733454.X |
| 申请日 | 2022-03-30 |
| 授权公布号 | CN218518155U |
| 授权公告日 | 2023-02-24 |
| 分类号 | B23Q3/06 |
| 分类 | 机床;不包含在其他类目中的金属加工; |
| 申请人名称 | 田中金属加工(上海)有限公司 |
| 申请人地址 | 上海市嘉定区马陆镇樊家村 |
专利法律状态
2023-02-24
授权
状态信息
授权
摘要
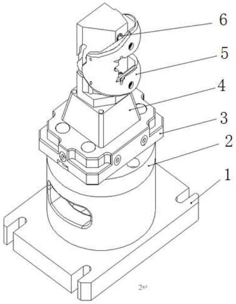
本实用新型涉及一种用于人工关节五轴加工的定位装夹工装,包括用于连接五轴加工中心转台的转台底座、以及固定在转台底座上并用于固定工件的仿形夹具体,该仿形夹具体上具有匹配工件内侧的多面体型面。与现有技术相比,本实用新型主要是采用一个仿型的专用夹具,实现先线切割定位面,无需预留夹持部分,直接装夹线切割好的定位面,从而实现要求最高的曲面最后加工的目的,因此大大提高了重要曲面的轮廓精度。


