授权公布号:CN217513094U
一种改善激光切割头保护镜更换环境的迷你吹气装置
有效
申请
2022-05-06
申请公布
1970-01-01
授权
2022-09-30
预估到期
2032-05-06
| 申请号 | CN202221058278.0 |
| 申请日 | 2022-05-06 |
| 授权公布号 | CN217513094U |
| 授权公告日 | 2022-09-30 |
| 分类号 | B23K26/38;B23K26/70 |
| 分类 | 机床;不包含在其他类目中的金属加工; |
| 申请人名称 | 埃威迪(黄石)数控技术有限公司 |
| 申请人地址 | 湖北省黄石市经济开发区金山大道158号 |
专利法律状态
2022-09-30
授权
状态信息
授权
2022-05-06
公布
状态信息
公布
摘要
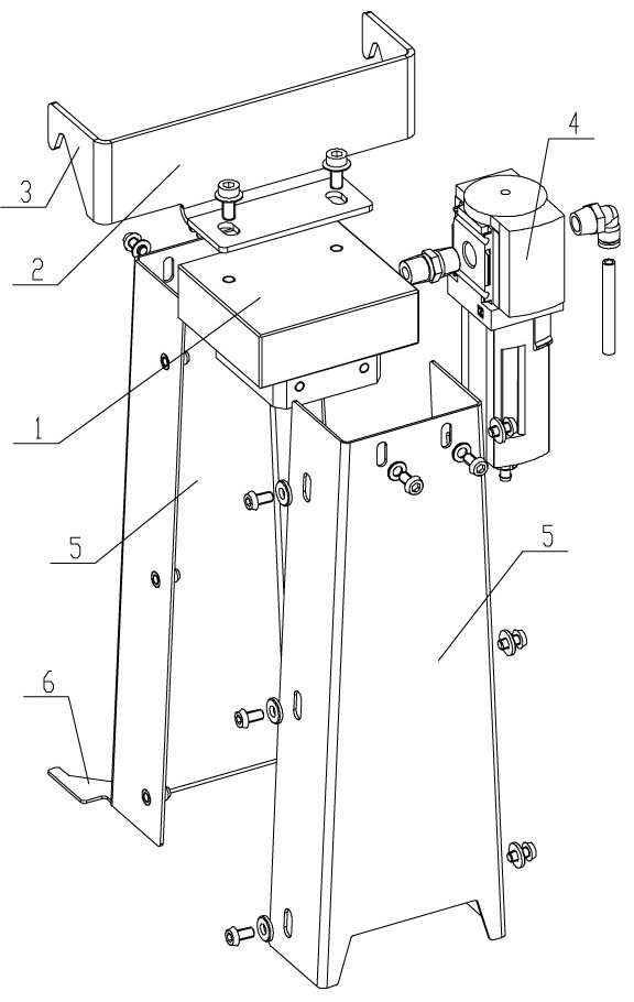
本实用新型是一种改善激光切割头保护镜更换环境的迷你吹气装置,包括基座,基座一侧设有进气孔,基座底部设有出气孔,进气孔处通过气管连接有压缩空气源,基座底部装有导流罩,基座上端装有连接支架,连接支架的两侧各设有一个挂钩,挂钩用于挂在切割头机构上;本实用新型能够保证更换切割头保护镜时,使保护镜不被环境所污染,且占地小,直接挂装在切割头上,安装拆卸都很方便。


