授权公布号:CN217290941U
一种履带式刀条切割平台
有效
申请
2021-12-31
申请公布
1970-01-01
授权
2022-08-26
预估到期
2031-12-31
| 申请号 | CN202123430223.6 |
| 申请日 | 2021-12-31 |
| 授权公布号 | CN217290941U |
| 授权公告日 | 2022-08-26 |
| 分类号 | B23K26/38;B23K26/70 |
| 分类 | 机床;不包含在其他类目中的金属加工; |
| 申请人名称 | 武汉金运激光股份有限公司 |
| 申请人地址 | 湖北省武汉市江岸区后湖街石桥一路3号金运激光大厦10楼 |
专利法律状态
2022-08-26
授权
状态信息
授权
摘要
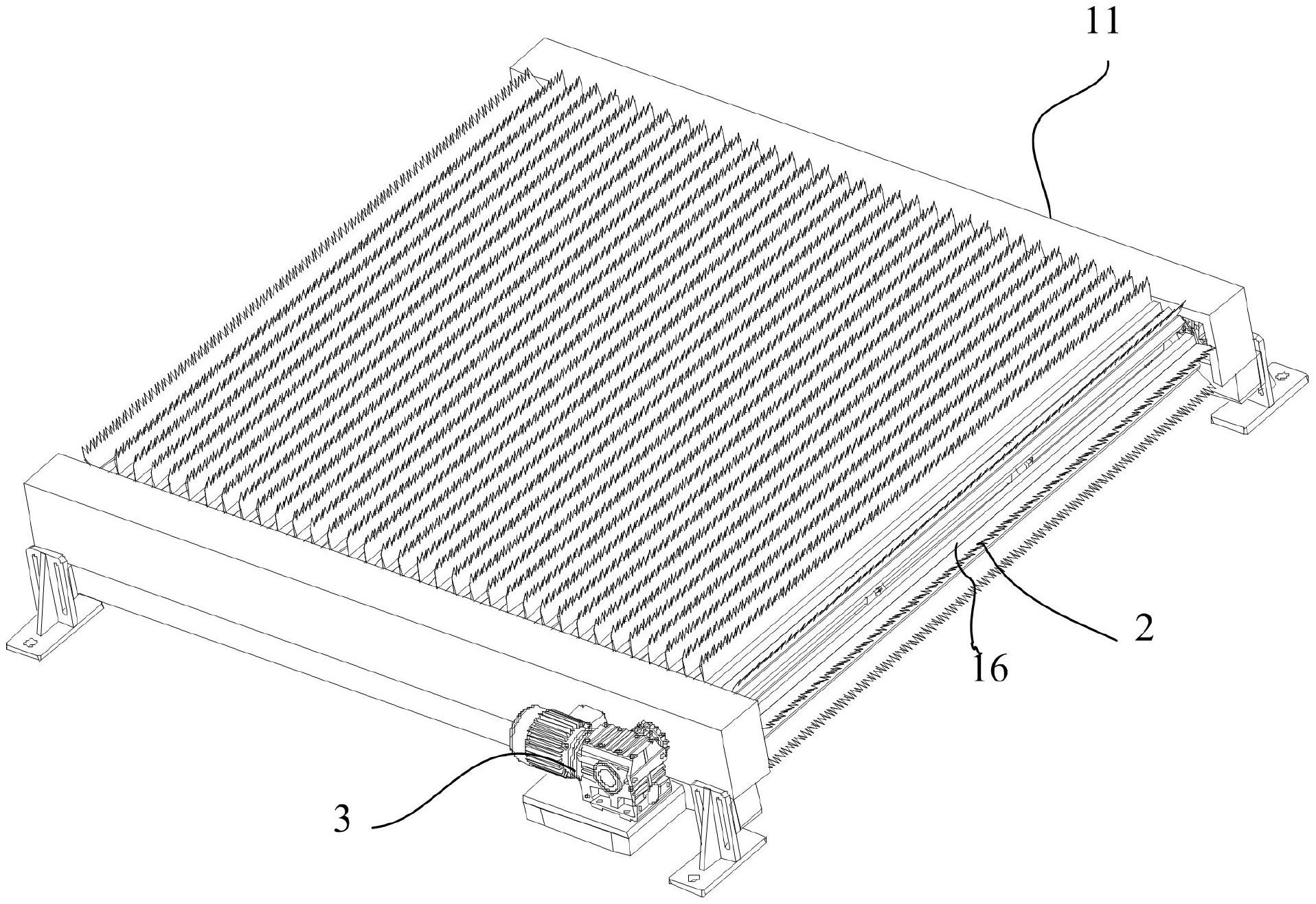
本实用新型公开一种履带式刀条切割平台,包括:机架、主动辊、从动辊、第一、二传动链,多个刀条安装链板;主动辊和从动辊的两端均固定安装有链轮a;主动辊和从动辊平行安装于机架;第一传动链安装于主、从动辊的一同侧对应的链轮a,第二传动链安装于主、从动辊的另一同侧对应的链轮a;第一传动链和第二传动链每个相对应的链节单元之间均可拆卸安装有一刀条安装链板;其中,每一刀条安装链板中部沿长度方向开设有安装槽,安装槽底设有磁吸部;多片铁制刀条,每一铁制刀条通过磁吸部吸附于一安装槽;驱动电机,安装于机架且与主动辊辊轴驱动连接,以驱动主动辊转动并带动各刀条安装链板随第一、二传动链一同转换工作位置。


