授权公布号:CN216712245U
机器人熔覆焊接装置
有效
申请
2021-12-16
申请公布
1970-01-01
授权
2022-06-10
预估到期
2031-12-16
| 申请号 | CN202123195303.8 |
| 申请日 | 2021-12-16 |
| 授权公布号 | CN216712245U |
| 授权公告日 | 2022-06-10 |
| 分类号 | C23C24/10 |
| 分类 | 对金属材料的镀覆;用金属材料对材料的镀覆;表面化学处理;金属材料的扩散处理;真空蒸发法、溅射法、离子注入法或化学气相沉积法的一般镀覆;金属材料腐蚀或积垢的一般抑制〔2〕; |
| 申请人名称 | 苏州领创先进智能装备有限公司 |
| 申请人地址 | 江苏省苏州市昆山市玉山镇中华园西路1869号 |
专利法律状态
2022-06-10
授权
状态信息
授权
摘要
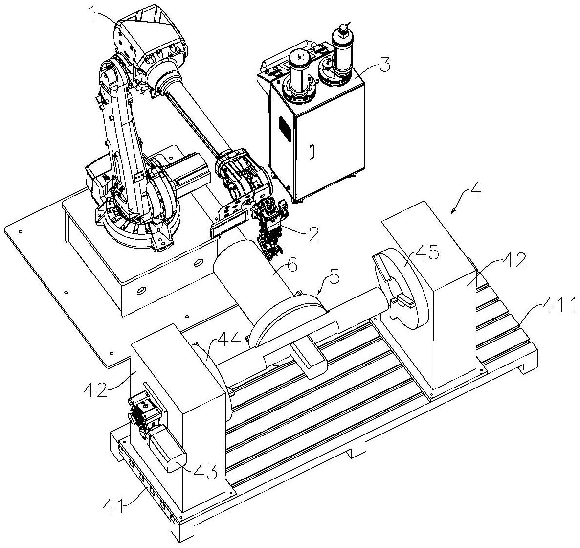
本实用新型涉及一种机器人熔覆焊接装置,具有ABB机器人和固定安装在ABB机器人上的熔覆头,所述ABB机器人一侧设置有用于向熔覆头送料的送粉器,正面设置有旋转工作台;所述旋转工作台包括底座,底座顶部设置有两个左右对称的支撑座,左右两个支撑座的对称面上分别设置有主动旋转卡盘和从动旋转卡盘,位于左侧的支撑座上设置有旋转电机,所述旋转电机与所述主动旋转卡盘传动连接;所述主动旋转卡盘和从动旋转卡盘之间卡接有翻转工作台。这种机器人熔覆焊接装置可以使机器人与外部工作台之间联动运行,实现复杂轨迹的运动方式,可以进行高速激光熔覆焊接以及实现特殊空间形状的成型,使材料可以完美过渡转换,操作灵活,加工效率高。


