授权公布号:CN220659593U
一种管材支撑装置及激光切管机
有效
申请
2023-07-21
申请公布
1970-01-01
授权
2024-03-26
预估到期
2033-07-21
| 申请号 | CN202321943819.2 |
| 申请日 | 2023-07-21 |
| 授权公布号 | CN220659593U |
| 授权公告日 | 2024-03-26 |
| 分类号 | B23K26/38;B23K26/70;B23K37/053;B23K101/06N |
| 分类 | 机床;不包含在其他类目中的金属加工; |
| 申请人名称 | 济南邦德激光股份有限公司 |
| 申请人地址 | 山东省济南市高新区新泺大街1299号鑫盛大厦1号楼21A(经营场所位于东区ICT智能装配工业园) |
专利法律状态
2024-03-26
授权
状态信息
授权
摘要
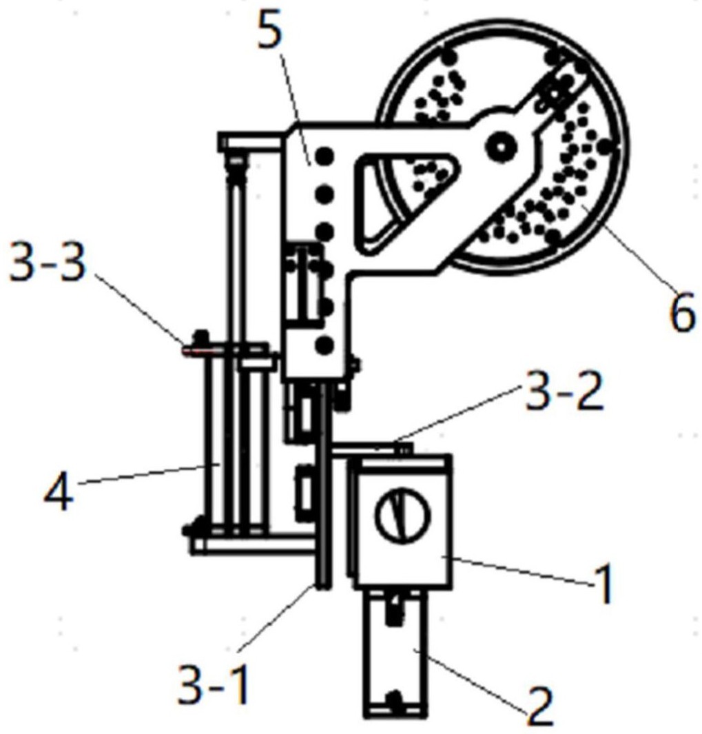
本实用新型为一种管材支撑装置及激光切管机,属于激光切管机领域,技术方案为,一种管材支撑装置,包括升降组件,升降组件的升降端设有托辊组件,升降组件包括一级升降组件和二级升降组件,二级升降组件设置在一级升降组件的升降端,托辊组件设置在二级升降组件的升降端。本实用新型的有益效果为,采用双级升降结构,托辊组件具有更大的升降范围,能够使托辊组件完全下降至床身内,消除对浮动卡盘移动时的位置阻碍,增大了卡盘的运动范围,使卡盘能够沿床身全行程移动;同时能够降低床身高度,减少成本,更加符合人机交互需求。


