授权公布号:CN215046708U
一种管材分料上料装置
有效
申请
2021-03-05
申请公布
1970-01-01
授权
2021-12-07
预估到期
2031-03-05
| 申请号 | CN202120485089.0 |
| 申请日 | 2021-03-05 |
| 授权公布号 | CN215046708U |
| 授权公告日 | 2021-12-07 |
| 分类号 | B65G47/82 |
| 分类 | 输送;包装;贮存;搬运薄的或细丝状材料; |
| 申请人名称 | 山东镭鸣数控激光装备有限公司 |
| 申请人地址 | 山东省济南市高新区临港北路6333号 |
专利法律状态
2021-12-07
授权
状态信息
授权
摘要
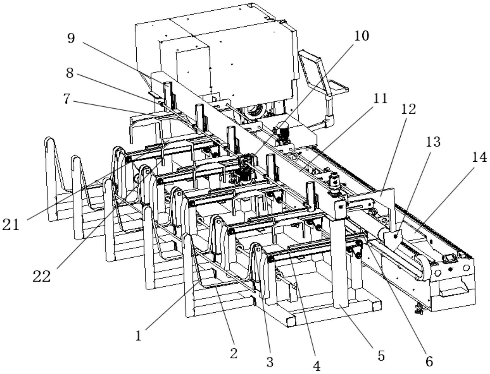
本实用新型提供了一种管材分料上料装置,采用的方案是:包括捆料上料机构、支座、支撑台以及分料机构,所述支撑台和分料机构安装在支座上,所述支撑台位于捆料上料机构的下料口一侧,所述支撑台上安装有推送机构,所述推送机构能够在支撑台上进行左右滑动,所述推送机构上设置有定位结构,所述分料机构包括可上下、左右移动的分料拨叉,所述分料拨叉能够将单根管材从支撑台的一侧推送到定位结构上。取代了原有设备中具有的专门限制管材高度和分料的复杂结构,节省了管材提升高度的这一过程,进而提高了效率。


