授权公布号:CN220259865U
一种焊接装置
有效
申请
2023-08-11
申请公布
1970-01-01
授权
2023-12-29
预估到期
2033-08-11
| 申请号 | CN202322153486.X |
| 申请日 | 2023-08-11 |
| 授权公布号 | CN220259865U |
| 授权公告日 | 2023-12-29 |
| 分类号 | B23K26/21;B23K26/064;B23K26/70 |
| 分类 | 机床;不包含在其他类目中的金属加工; |
| 申请人名称 | 苏州迅镭激光科技有限公司 |
| 申请人地址 | 江苏省苏州市工业园区娄葑镇东富路58号 |
专利法律状态
2023-12-29
授权
状态信息
授权
摘要
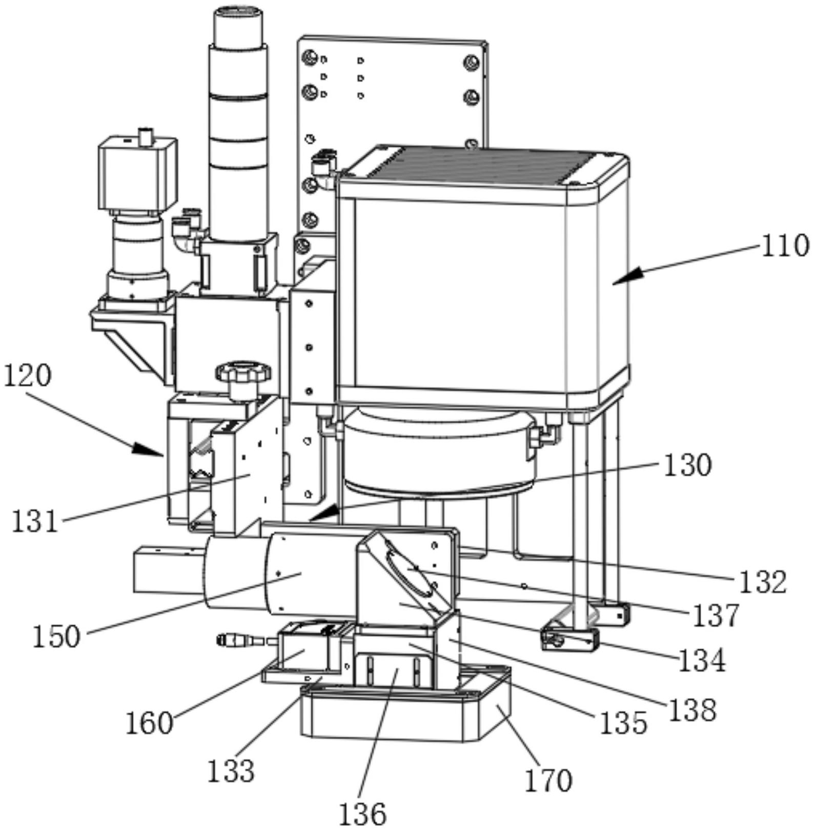
本实用新型涉及一种焊接装置,该装置包括振镜式激光焊接组件以及与振镜式激光焊接组件相连的支架,所述支架上安装有辅助架,所述辅助架的上端安装有反射镜,反射镜的一侧设置有检测相机,检测相机的镜头朝向所述反射镜,辅助架上还设置有位于反射镜下方的半透半反镜,所述半透半反镜的一侧设置有测距传感器,所述测距传感器朝向所述半透半反镜,所述反射镜与半透半反镜的倾斜角度相同,所述半透半反镜的下方设置有安装在辅助架上的相机光源。该焊接装置只需要移动到焊接点,即可对焊接点既进行测距又进行视觉检测定位,有利于提高焊接效率。


