授权公布号:CN211660425U
自动晶圆筛选机
有效
申请
2020-02-21
申请公布
1970-01-01
授权
2020-10-13
预估到期
2030-02-21
| 申请号 | CN202020191342.7 |
| 申请日 | 2020-02-21 |
| 授权公布号 | CN211660425U |
| 授权公告日 | 2020-10-13 |
| 分类号 | B07B1/24 |
| 分类 | 将固体从固体中分离;分选; |
| 申请人名称 | 苏州天弘激光股份有限公司 |
| 申请人地址 | 江苏省苏州市苏州工业园区通和路66号 |
专利法律状态
2020-10-13
授权
状态信息
授权
摘要
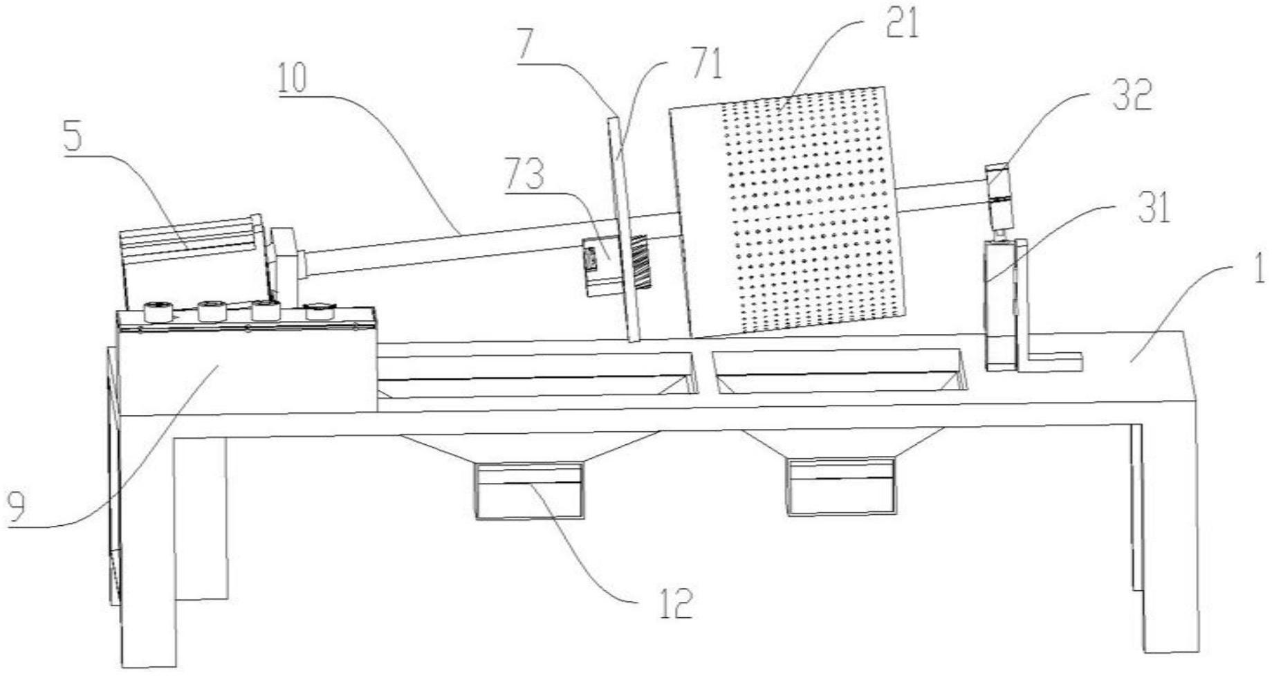
本实用新型涉及一种自动晶圆筛选机,与电控箱信号连接,包括底座、设置在所述底座上且设置有至少两组孔径不一的筛选孔的滚筒、设置在所述滚筒一侧的第一电机、设置在所述滚筒另一侧的升降机构、用以连接所述第一电机与升降机构且贯穿所述滚筒设置的连杆、及设置在所述连杆上且可沿所述连杆的轴长方向移动的格挡机构,所述格挡机构沿所述连杆移动以使得目标物移动至目标筛选孔处进行筛选。通过设置有格挡机构,格挡机构将目标物移动至目标筛选孔处以进行筛选工作,方便快捷;通过设置有用以筛除碎料的第一筒体及与第一筒体连接且用以筛选晶圆的第二筒体,第一筒体用以将碎料筛除以方便目标物进行筛选。


