授权公布号:CN217001556U
一种自带清洗功能的防火门
有效
申请
2021-11-11
申请公布
1970-01-01
授权
2022-07-19
预估到期
2031-11-11
| 申请号 | CN202122766091.8 |
| 申请日 | 2021-11-11 |
| 授权公布号 | CN217001556U |
| 授权公告日 | 2022-07-19 |
| 分类号 | E06B5/16;E06B7/28;B08B1/04;B08B3/02 |
| 分类 | 一般门、窗、百叶窗或卷辊遮帘;梯子; |
| 申请人名称 | 浙江哈勃实业有限公司 |
| 申请人地址 | 浙江省丽水市缙云县新碧街道碧溪路2号 |
专利法律状态
2022-07-19
授权
状态信息
授权
摘要
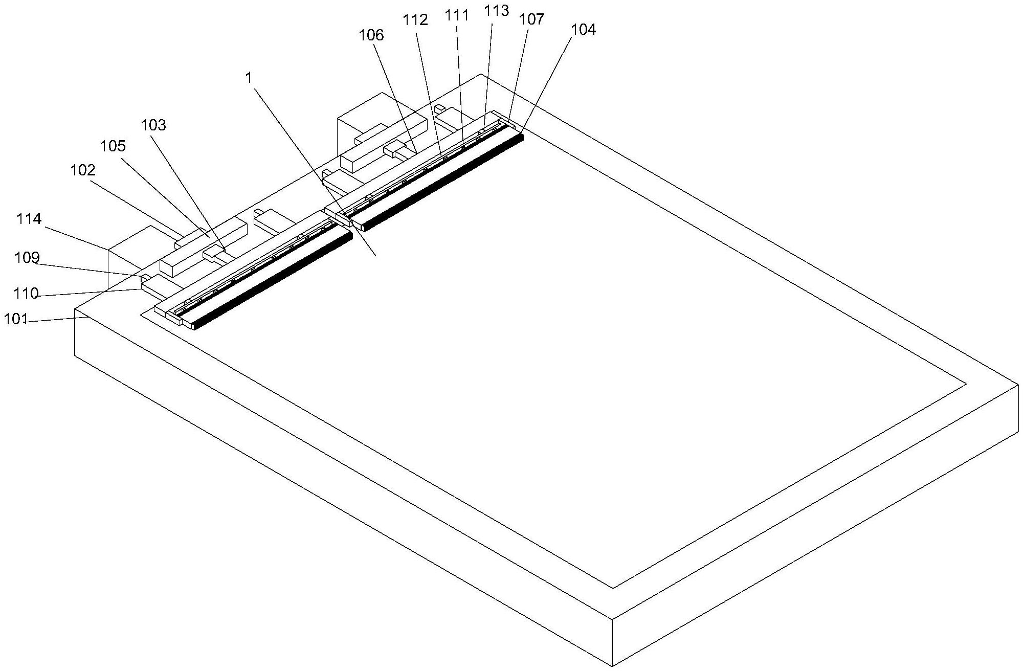
本实用新型公开了一种自带清洗功能的防火门,包括门体,门体外侧设置有防护壳体,防护壳体上设置有清洗装置,清洗装置包括清洗组件和设置在清洗组件上的注水组件,清洗组件包括伸缩气缸、伸缩杆和清洗毛刷,伸缩气缸伸缩端与伸缩杆连接,且伸缩气缸设置在防护壳体上,伸缩杆底部与支撑板连接,支撑板底部垂直设置有安装块,安装块有两个,两个安装块之间设置有转轴,转轴上套设有清洗毛刷,且支撑板上设置有注水组件,注水组件包括进水管、储水箱和出水管,进水管底部设置有储水箱,储水箱底部设置有出水管,出水管底部贯穿出支撑板并与注水板连接,注水板底部设置有喷头。该装置能够使防火门达到自动清洗的效果。


