授权公布号:CN207981816U
吸嘴托盘支架
有效
申请
2017-12-26
申请公布
1970-01-01
授权
2018-10-19
预估到期
2027-12-26
| 申请号 | CN201721839521.1 |
| 申请日 | 2017-12-26 |
| 授权公布号 | CN207981816U |
| 授权公告日 | 2018-10-19 |
| 分类号 | B08B13/00 |
| 分类 | 清洁; |
| 申请人名称 | 广东聚广恒自动化设备有限公司 |
| 申请人地址 | 广东省东莞市长安镇新安社区横中路5号B栋二楼A区 |
专利法律状态
2018-10-19
授权
状态信息
授权
摘要
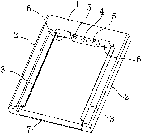
本实用新型涉及托盘支架技术领域,特指一种吸嘴托盘支架;本实用新型包括主体,主体呈方框形,主体具有四条边,包括主边、两个夹臂、一个副边,主边的中心沿轴线开设有固定孔,主边还开设有磁铁孔,磁铁孔内安装有磁铁;本实用新型可以通过磁铁相吸来定位托盘,固定孔安装转轴后,可以使支架实现旋转,带动托盘转动,从而能够实现自动化清洁,提高清洁效率和清洁效果。


