授权公布号:CN216966646U
一种新型PCB板激光打标设备
有效
申请
2021-12-22
申请公布
1970-01-01
授权
2022-07-15
预估到期
2031-12-22
| 申请号 | CN202123277445.9 |
| 申请日 | 2021-12-22 |
| 授权公布号 | CN216966646U |
| 授权公告日 | 2022-07-15 |
| 分类号 | B23K26/362;B23K26/70;B23K26/16 |
| 分类 | 机床;不包含在其他类目中的金属加工; |
| 申请人名称 | 广东聚广恒自动化设备有限公司 |
| 申请人地址 | 广东省东莞市长安镇新安横中路2号2栋202室 |
专利法律状态
2022-07-15
授权
状态信息
授权
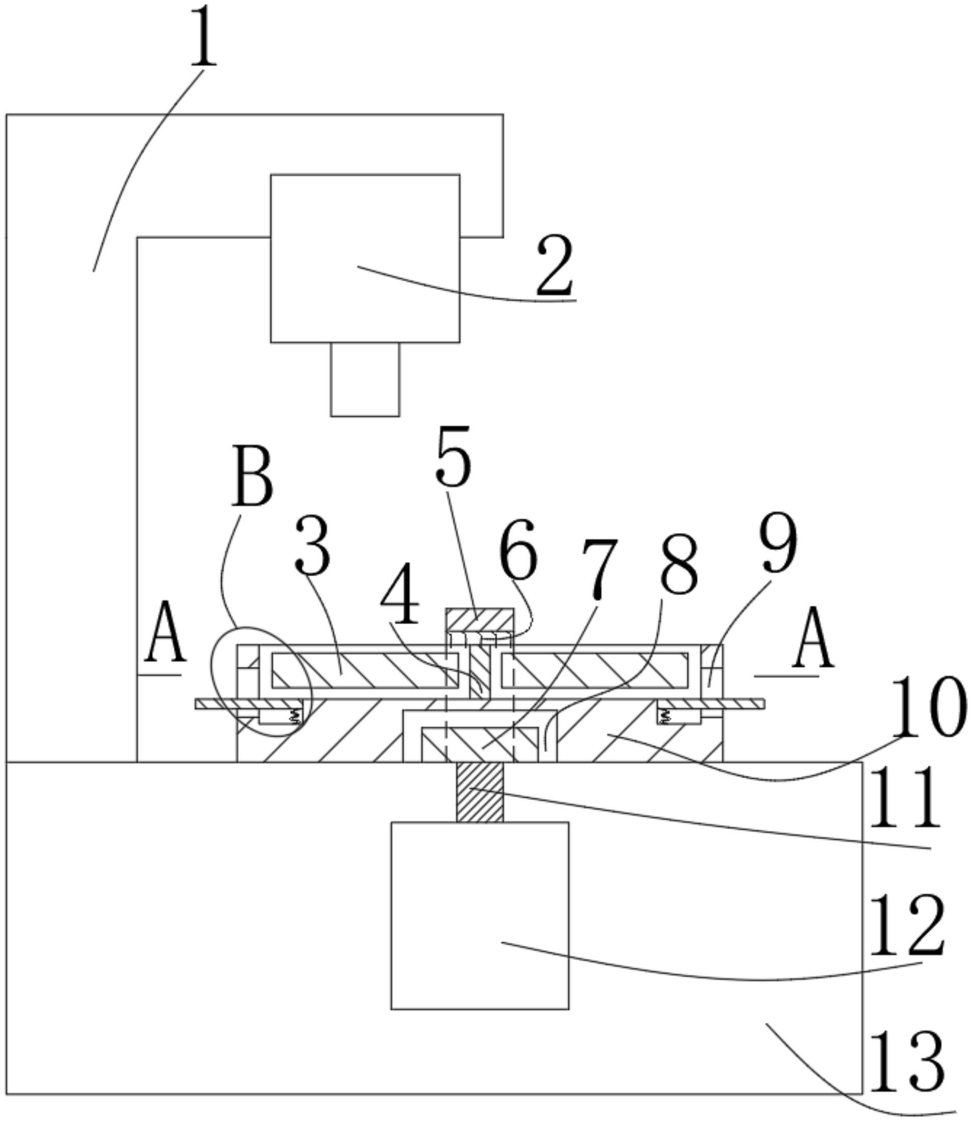
摘要
本实用新型公开了一种新型PCB板激光打标设备,包括机架和激光发射头,激光发射头安装在机架的顶端,机架的底端设置有机箱,机箱的顶端安装有放置盘。本实用新型通过在机箱顶端安装放置盘,用于放置PCB板,可以一次放置六块PCB板,循环进行打标,节约放置PCB板的时间;同时,打标完成后的PCB板旋转到机架的对面,向下按动按压板,按压板的一端顶起PCB板,使得PCB板翘起,方便拿取PCB板,提高PCB板打标效率。通过毛刷对PCB板的表面进行刷檫,保持PCB板表面清洁干净,利于激光发射头对其进行打标,且提高打标质量。


