授权公布号:CN216003351U
全自动立式方瓶专用贴标机
有效
申请
2021-05-12
申请公布
1970-01-01
授权
2022-03-11
预估到期
2031-05-12
| 申请号 | CN202121006332.2 |
| 申请日 | 2021-05-12 |
| 授权公布号 | CN216003351U |
| 授权公告日 | 2022-03-11 |
| 分类号 | B65C9/02;B65C9/36 |
| 分类 | 输送;包装;贮存;搬运薄的或细丝状材料; |
| 申请人名称 | 东莞市欧尚自动化设备科技有限公司 |
| 申请人地址 | 广东省东莞市茶山镇麟城一街1号102室 |
专利法律状态
2022-03-11
授权
状态信息
授权
摘要
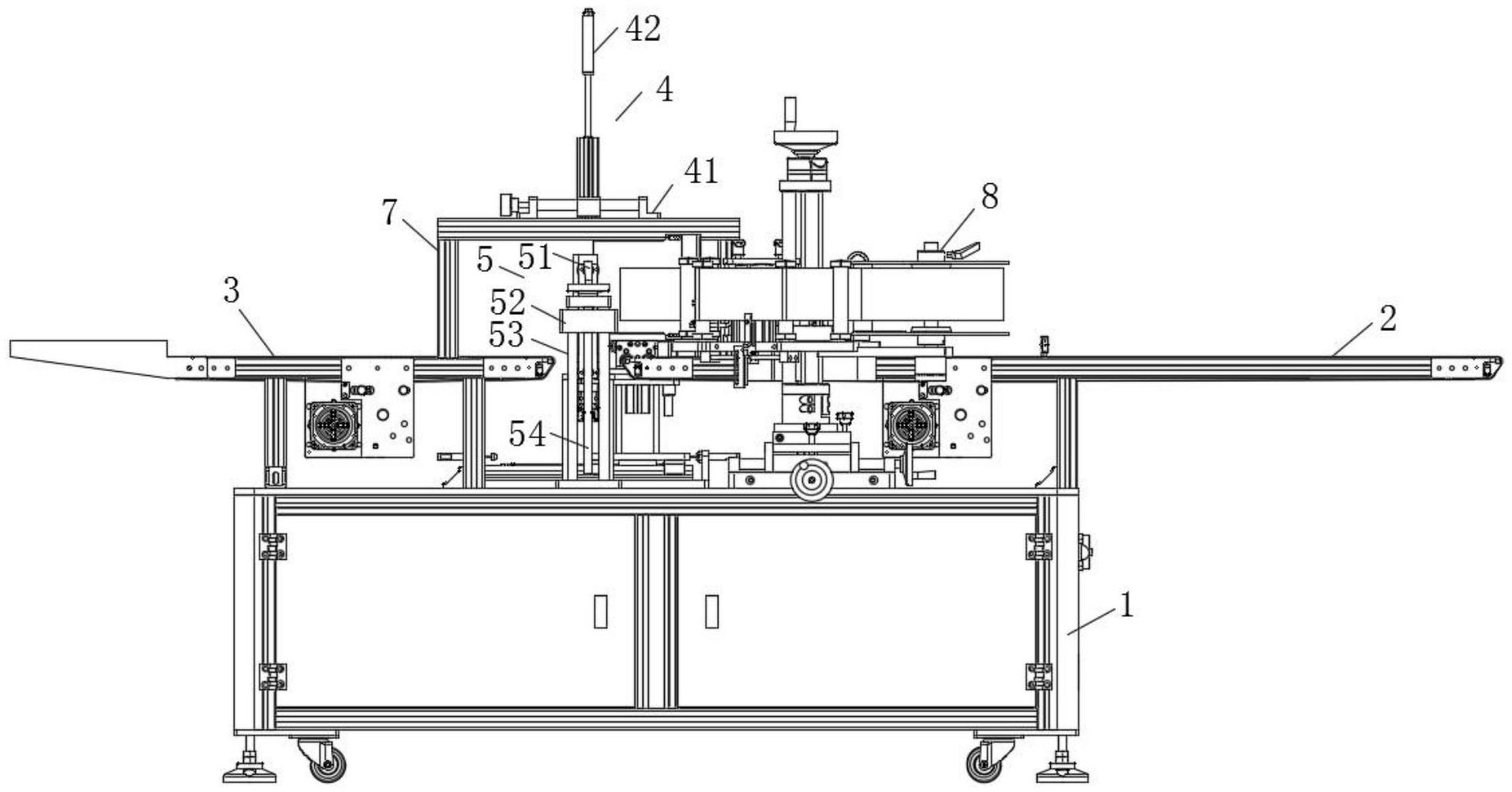
本实用新型公开了全自动立式方瓶专用贴标机,包括支撑台,支撑台上端两侧分别固定有进料架和出料架,进料架和出料架之间设有旋转台,旋转台与支撑台转动连接,旋转台一侧设有覆标机构,旋转台正上方设有安装架,安装架与支撑台固定连接,安装架上设有挤压机构,挤压机构与旋转台相对应,进料架两侧分别设有贴标机组和取料机构,贴标机组一端位于旋转台和覆标机构之间,本实用新型使整个贴标过程中能够全自动完成,节约人力物力,提升贴标效率,同时,在贴标过程中能够很好的保证方瓶的稳定性,从而保证贴标的精准性。


