授权公布号:CN214900512U
微型伺服电动缸
有效
申请
2021-04-28
申请公布
1970-01-01
授权
2021-11-26
预估到期
2031-04-28
| 申请号 | CN202120920621.7 |
| 申请日 | 2021-04-28 |
| 授权公布号 | CN214900512U |
| 授权公告日 | 2021-11-26 |
| 分类号 | H02K7/06 |
| 分类 | 发电、变电或配电; |
| 申请人名称 | 深圳市同创达自动化设备有限公司 |
| 申请人地址 | 广东省深圳市坪山区坑梓街道坑梓中兴路9号A2 |
专利法律状态
2021-11-26
授权
状态信息
授权
摘要
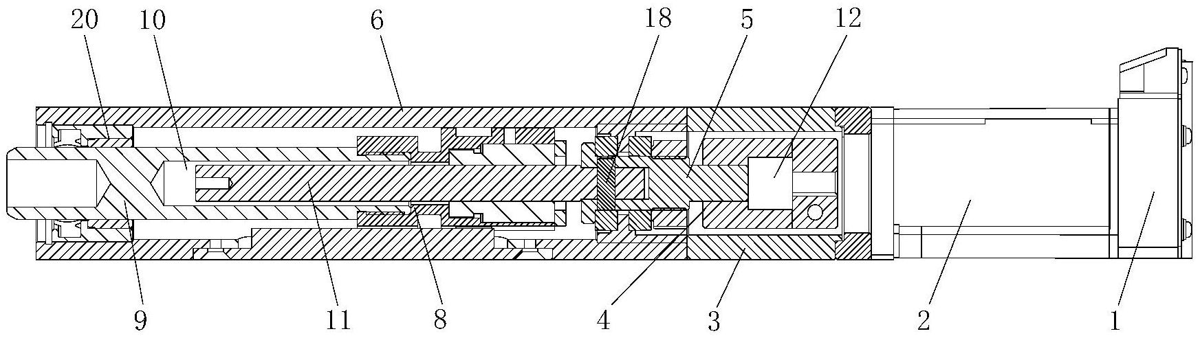
本实用新型公开了微型伺服电动缸,包括支座和电机,所述支座上端固定安装有马达座,所述马达座内侧设置有联轴器,所述马达座上方设置有丝杆连接头,所述丝杆连接头直径小于联轴器的直径,所述联轴器的底端高度高于马达座的底端高度,所述马达座上端固定连接有缸套筒,所述缸套筒内侧设置有工作腔,所述工作腔内侧活动连接有活塞卡座,所述活塞卡座上端内侧固定连接有活塞杆,所述活塞杆内侧设置有容纳腔,所述容纳腔内侧设置有滚珠丝杆,所述滚珠丝杆下端活动连接于丝杆连接头内侧。本实用新型通过滚珠丝杆的水平转动,匀速推动活塞杆从工作腔内探出,丝扣连接的方式令活塞杆的轴向运动始终保持直线,达到高精度的要求,提高生产质量。


