授权公布号:CN215483978U
一种吊顶龙骨柔性连接防裂结构
有效
申请
2021-07-27
申请公布
1970-01-01
授权
2022-01-11
预估到期
2031-07-27
| 申请号 | CN202121722477.2 |
| 申请日 | 2021-07-27 |
| 授权公布号 | CN215483978U |
| 授权公告日 | 2022-01-11 |
| 分类号 | E04B9/00;E04B9/06;E04B9/14;E04B9/30;E04B9/22 |
| 分类 | 建筑物; |
| 申请人名称 | 上海百安居装饰工程有限公司 |
| 申请人地址 | 上海市宝山区殷高西路700号 |
专利法律状态
2022-01-11
授权
状态信息
授权
摘要
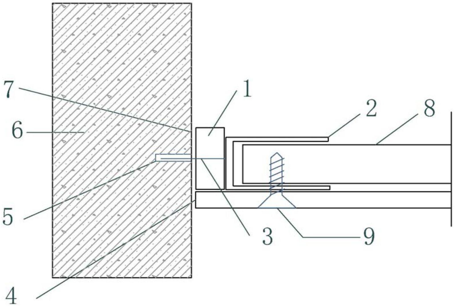
本实用新型公开了一种吊顶龙骨柔性连接防裂结构,包括吊顶龙骨,吊顶龙骨靠近墙体的端部设有边龙骨,其特征在于,所述的边龙骨与墙体之间设有柔性连接件。本实用新型通过在墙体与边龙骨之间增加柔性连接件,使得墙体与边龙骨之间为柔性连接,能承受一定量的轴向线变位和相对角变位,从而起到防开裂的作用。


