授权公布号:CN220365186U
一种控制石膏板拼缝间隙装置
有效
申请
2023-07-03
申请公布
1970-01-01
授权
2024-01-19
预估到期
2033-07-03
| 申请号 | CN202321725902.2 |
| 申请日 | 2023-07-03 |
| 授权公布号 | CN220365186U |
| 授权公告日 | 2024-01-19 |
| 分类号 | E04B9/04 |
| 分类 | 建筑物; |
| 申请人名称 | 上海百安居装饰工程有限公司 |
| 申请人地址 | 上海市宝山区殷高西路700号 |
专利法律状态
2024-01-19
授权
状态信息
授权
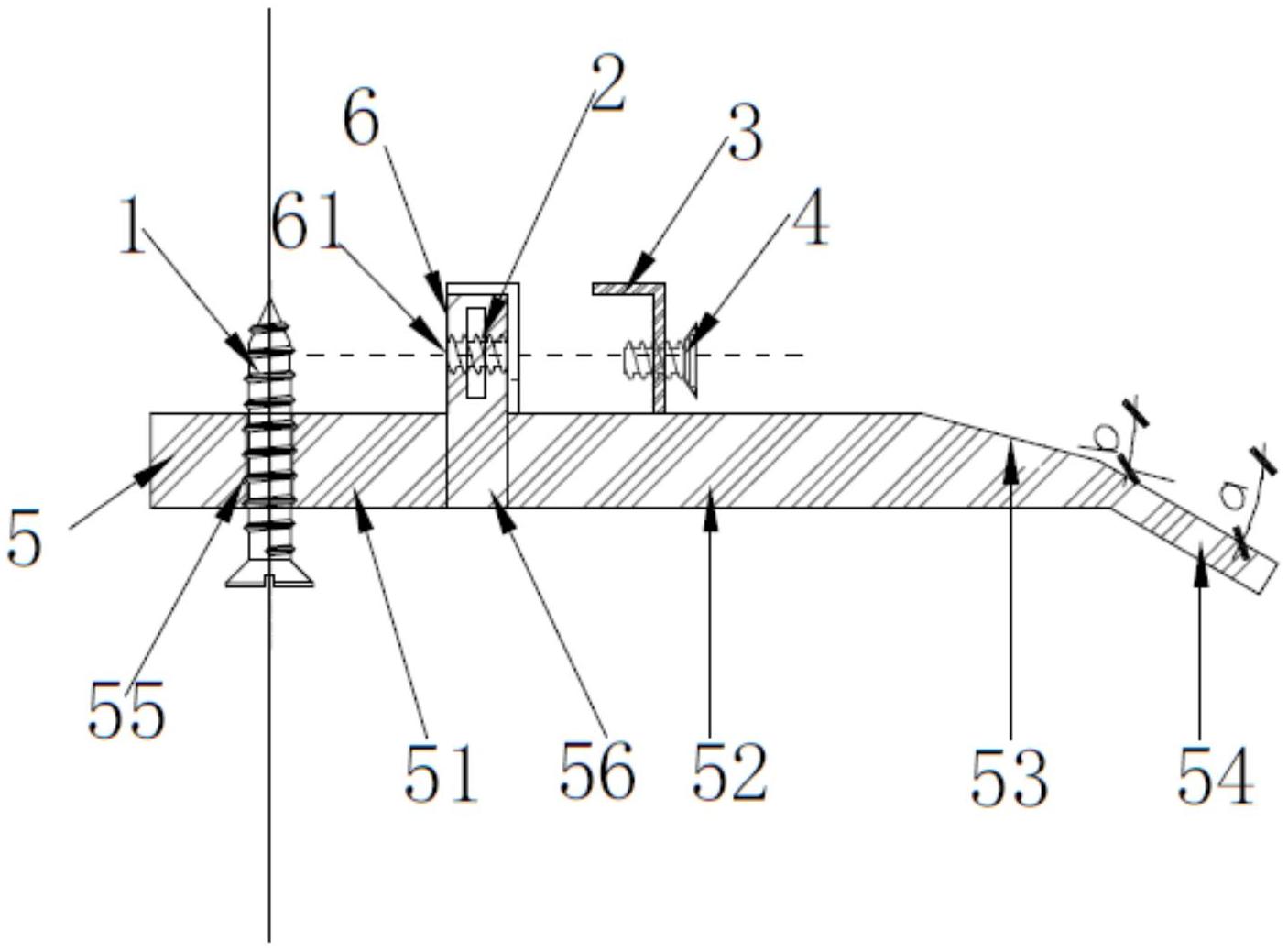
摘要
本实用新型公开了一种控制石膏板拼缝间隙装置,其特征在于,包括托板,托板包括上表面平直的平直段和上表面倾斜的倾斜段,平直段与倾斜段连接,平直段上设有基础间隙块,基础间隙块一侧连接有用于调整不同厚度石膏板拼缝间隙要求的L型铁片,平直段上远离倾斜段的一端设有通孔,基础间隙块设于通孔和倾斜段之间。本实用新型利用多点布置托板,有效实现一人轻松安装整片石膏板,省时省力,提升施工效率,石膏板拼缝间隙可控,嵌缝石膏施工质量可控。


