授权公布号:CN212778781U
一种柴油机热交换器
有效
申请
2020-08-26
申请公布
1970-01-01
授权
2021-03-23
预估到期
2030-08-26
| 申请号 | CN202021804213.7 |
| 申请日 | 2020-08-26 |
| 授权公布号 | CN212778781U |
| 授权公告日 | 2021-03-23 |
| 分类号 | F28F9/12;F28F9/26;F28F9/10;F02B29/04;F28F9/02;F28F11/02;F01P11/00;F28D7/16 |
| 分类 | 一般热交换; |
| 申请人名称 | 上海成峰流体设备有限公司 |
| 申请人地址 | 上海市松江区小昆山镇新港路1号1幢 |
专利法律状态
2021-03-23
授权
状态信息
授权
摘要
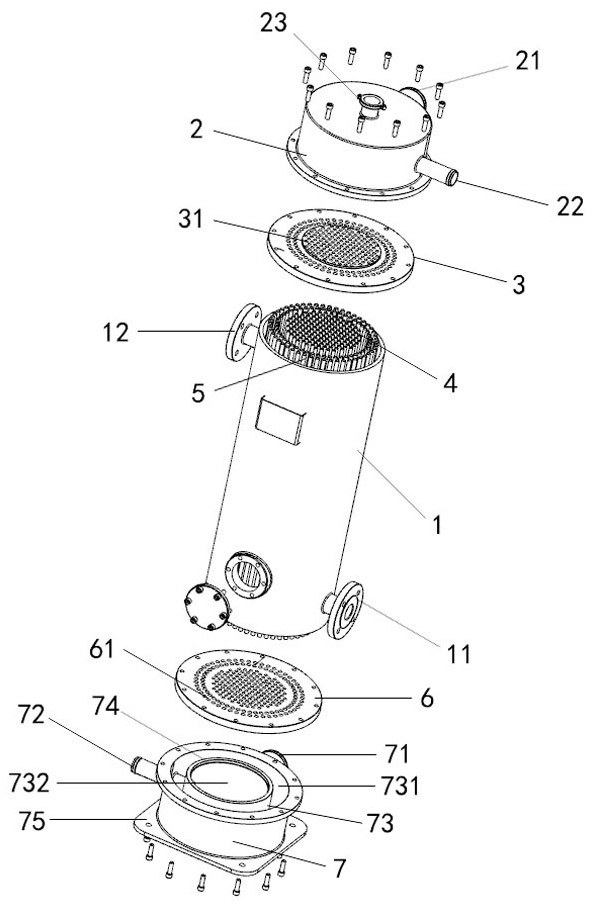
本实用新型公开了一种柴油机热交换器,包括热交换器、上端盖、上隔板、内铜管、外铜管、下隔板、下端盖;热交换器上部侧壁设有法兰进口,下部侧壁设有法兰出口;内铜管和外铜管均安装于热交换器中;上端盖内形成上端盖外腔和上端盖内腔,上端盖后侧设有与上端盖外腔相通圆管进口,右侧和上侧分别设有与上端盖内腔相通锥管进口和加液口;下端盖内形成下端盖外腔和下端盖内腔,下端盖后侧设有与下端盖外腔相通圆管出口,左侧设有与下端盖内腔相通锥管出口;外铜管两端连通上端盖外腔和下端盖外腔,内铜管两端连通上端盖内腔和下端盖内腔。本实用新型可同时冷却柴油机防冻冷却液和冷却进气,结构简单,造价成本低,结构稳定、散热效率高、适用性强。


