授权公布号:CN212744350U
一种大流量双级离心泵
有效
申请
2020-08-26
申请公布
1970-01-01
授权
2021-03-19
预估到期
2030-08-26
| 申请号 | CN202021805223.2 |
| 申请日 | 2020-08-26 |
| 授权公布号 | CN212744350U |
| 授权公告日 | 2021-03-19 |
| 分类号 | F04D1/06;F04D29/62;F04D29/42;F04D29/66 |
| 分类 | 液体变容式机械;液体泵或弹性流体泵; |
| 申请人名称 | 上海成峰流体设备有限公司 |
| 申请人地址 | 上海市松江区小昆山镇新港路1号1幢 |
专利法律状态
2021-03-19
授权
状态信息
授权
摘要
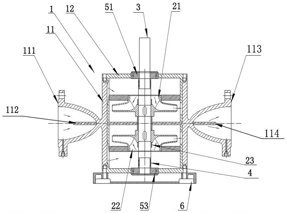
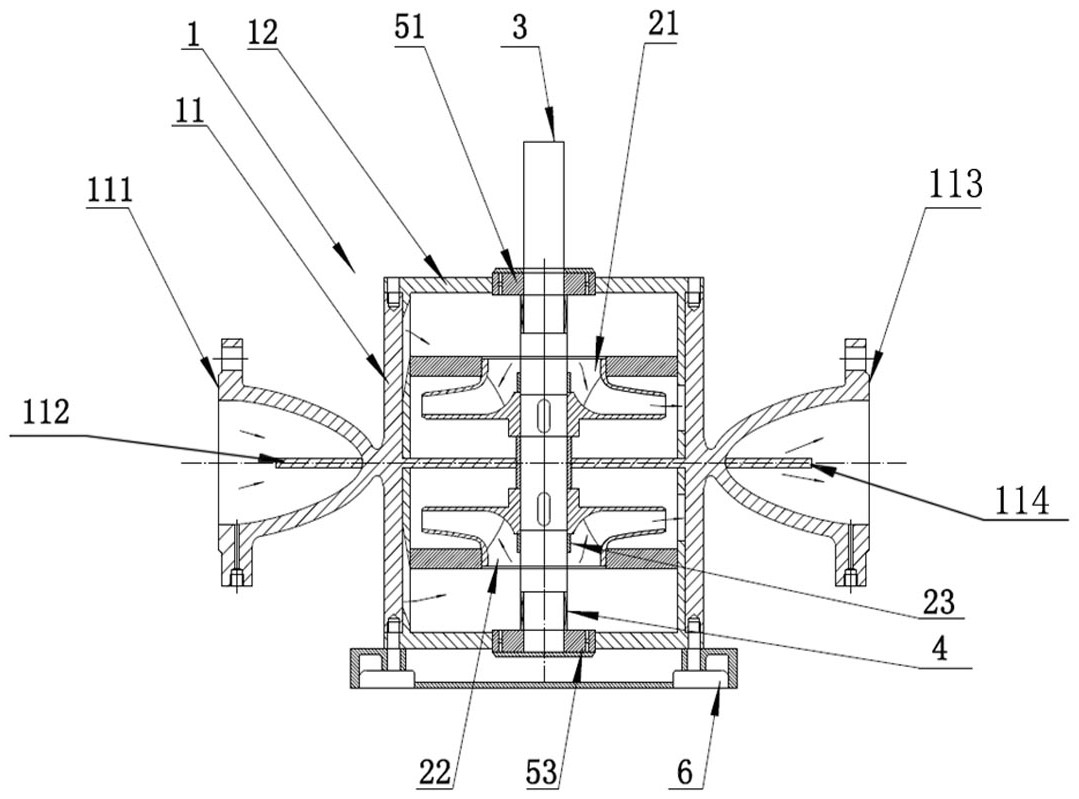
本实用新型公开了一种大流量双级离心泵,包括泵体、叶轮、轴和轴承;泵体包括泵壳、上泵盖和下泵盖,上泵盖与泵壳形成进水腔室和出水腔室,下泵盖与泵壳同样形成进水腔室和出水腔室;泵壳设有进水口和出水口,进水口中设有进水分隔板,出水口中设有出水分隔板,泵壳内设有中间隔板,中间隔板中部设有轴孔,并安装轴;叶轮包括上叶轮和下叶轮,上叶轮和下叶轮分别安装于上泵盖隔板孔和下泵盖隔板孔处的轴上,且上叶轮和下叶轮背向设置,二者之间通过中间轴套定位,并通过叶轮锁紧螺母锁紧固定。本实用新型通过对泵壳结构进行改进,配合上下泵盖,使用结构完全一致的泵盖和叶轮,实现增大一倍水泵流量的效果,生产成本低,结构简易,性能稳定。


