授权公布号:CN106988405B
一种离心式反冲洗污水提升器
有效
申请
2017-05-03
申请公布
2017-07-28
授权
2022-09-13
预估到期
2037-05-03
| 申请号 | CN201710305227.0 |
| 申请日 | 2017-05-03 |
| 申请公布号 | CN106988405A |
| 申请公布日 | 2017-07-28 |
| 授权公布号 | CN106988405B |
| 授权公告日 | 2022-09-13 |
| 分类号 | E03F5/22;E03F1/00 |
| 分类 | 给水;排水; |
| 申请人名称 | 上海成峰流体设备有限公司 |
| 申请人地址 | 上海市松江区小昆山镇新港路1号1幢 |
专利法律状态
2023-05-09
专利权质押合同登记的生效、变更及注销
状态信息
专利权质押合同登记的生效;IPC(主分类):E03F5/22;登记号:Y2023980038670;登记生效日:20230421;出质人:上海成峰流体设备有限公司;质权人:中国农业银行股份有限公司上海松江支行;发明名称:一种离心式反冲洗污水提升器;申请日:20170503;授权公告日:20220913
2022-09-13
授权
状态信息
授权
2017-08-22
实质审查的生效
状态信息
实质审查的生效;IPC(主分类):E03F5/22;申请日:20170503
2017-07-28
公布
状态信息
公布
摘要
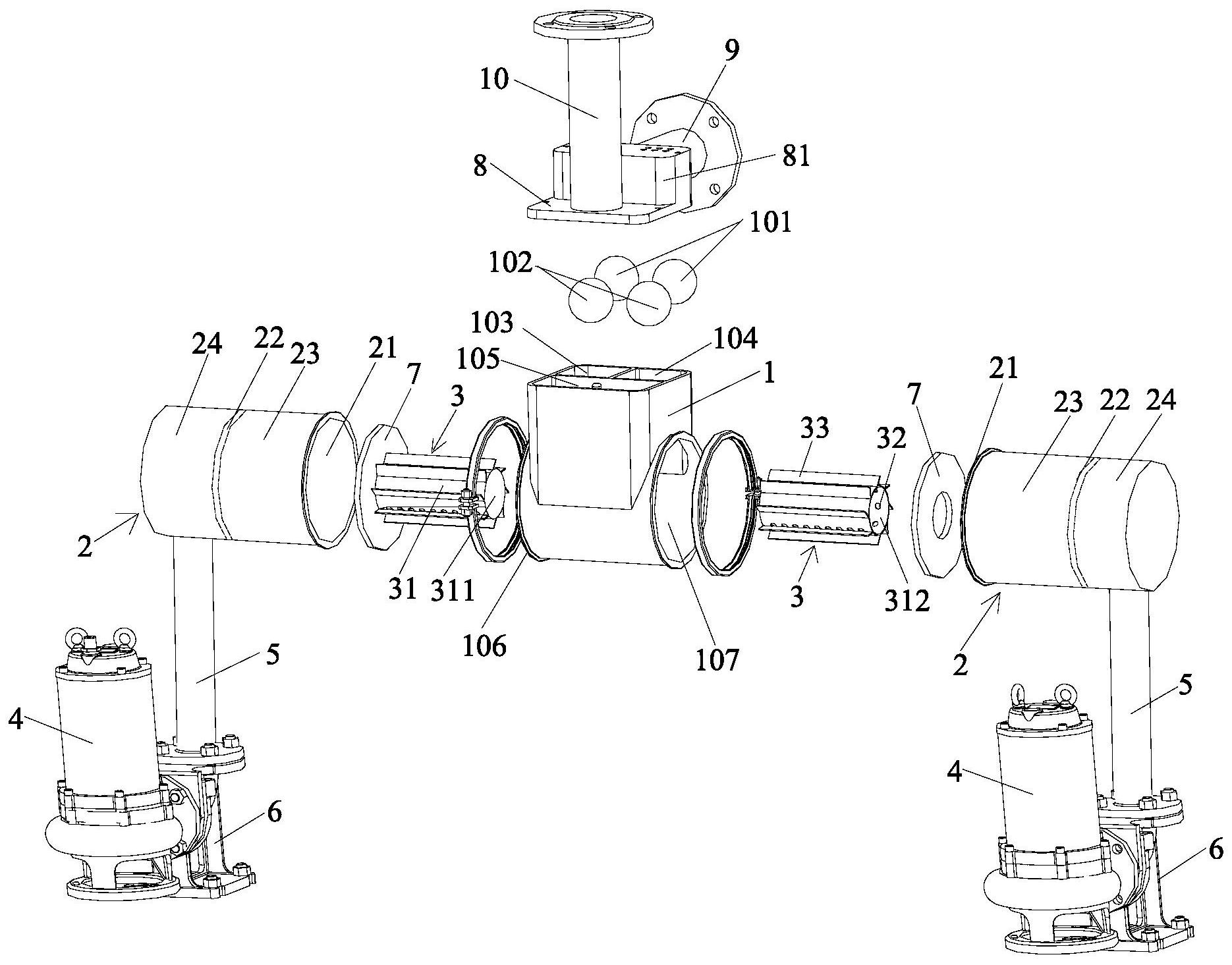
本发明公开了一种离心式反冲洗污水提升器,其包括:一组合止回阀体,所述组合止回阀体含有两个进水止回球阀和两个出水止回球阀;两个反冲洗桶,所述两个反冲洗桶对称分布在组合止回阀体的左右两侧;在两个反冲洗桶内均设置有过滤器;两台潜水排污泵,所述两台潜水排污泵分别通过管道与一反冲洗桶相连通连接;所述过滤器包括筒体,所述筒体的一端封闭,另一端开口,在所述筒体的周侧纵向设有多排过滤孔和间隔设有多个导向片,所述筒体的外周直径小于反冲洗桶的内腔直径,所述筒体的长度小于反冲洗桶的长度;且所述筒体的封闭端位于反冲洗桶的前端,所述筒体的开口端与反冲洗桶的内腔壁固定连接。本发明可避免污物堵塞过滤器和管路,结构简单紧凑。


