授权公布号:CN215463033U
一种水泥加工用通风除尘装置
有效
申请
2021-08-10
申请公布
1970-01-01
授权
2022-01-11
预估到期
2031-08-10
| 申请号 | CN202121860255.7 |
| 申请日 | 2021-08-10 |
| 授权公布号 | CN215463033U |
| 授权公告日 | 2022-01-11 |
| 分类号 | B01D50/00;B01D47/06 |
| 分类 | 一般的物理或化学的方法或装置; |
| 申请人名称 | 江苏紫科机械有限公司 |
| 申请人地址 | 江苏省盐城市盐都区大纵湖镇双龙居委会1幢(M) |
专利法律状态
2022-01-11
授权
状态信息
授权
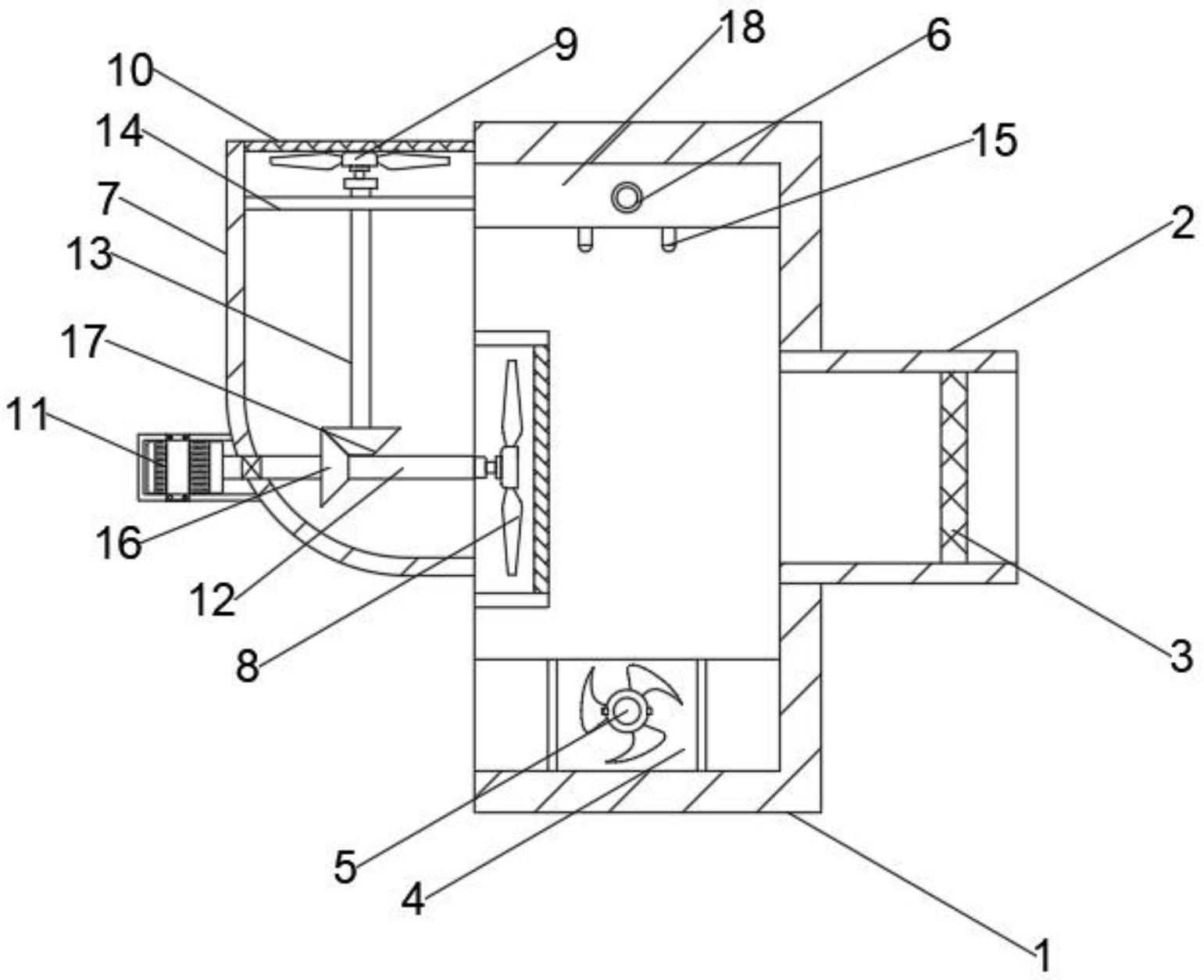
摘要
本实用新型公开了一种水泥加工用通风除尘装置,包括箱体,箱体内部的一侧设有第一风扇,第一风扇中心轴的一侧连接有第一驱动杆,箱体内部的顶端设有水箱,水箱的底端设有若干雾化喷头,且雾化喷头的一端贯穿水箱的底端,箱体内部的底端设有出料槽,出料槽贯穿箱体的一侧,且出料槽的内部安装有螺旋杆,箱体的一侧设有进气口,且箱体在远离进气口的一侧设有通风管,通风管的内部设有第二风扇,且第二风扇中心轴的一侧连接有第二驱动杆。该种水泥加工用通风除尘装置,结构简单合理,设计新颖,操作简单便捷,能有效将水泥加工过程中产生的灰尘去除,且便于加工室的通风,具有较高的实用价值。


