授权公布号:CN220118261U
一种便于连接的车载充气泵
有效
申请
2023-01-13
申请公布
1970-01-01
授权
2023-12-01
预估到期
2033-01-13
| 申请号 | CN202320125831.6 |
| 申请日 | 2023-01-13 |
| 授权公布号 | CN220118261U |
| 授权公告日 | 2023-12-01 |
| 分类号 | F04B39/00;F04B39/12;B65H75/44 |
| 分类 | 液体变容式机械;液体泵或弹性流体泵; |
| 申请人名称 | 宁波市亿嘉汽车电器有限公司 |
| 申请人地址 | 浙江省宁波市鄞州区五乡镇五乡北路165弄55号 |
专利法律状态
2023-12-01
授权
状态信息
授权
摘要
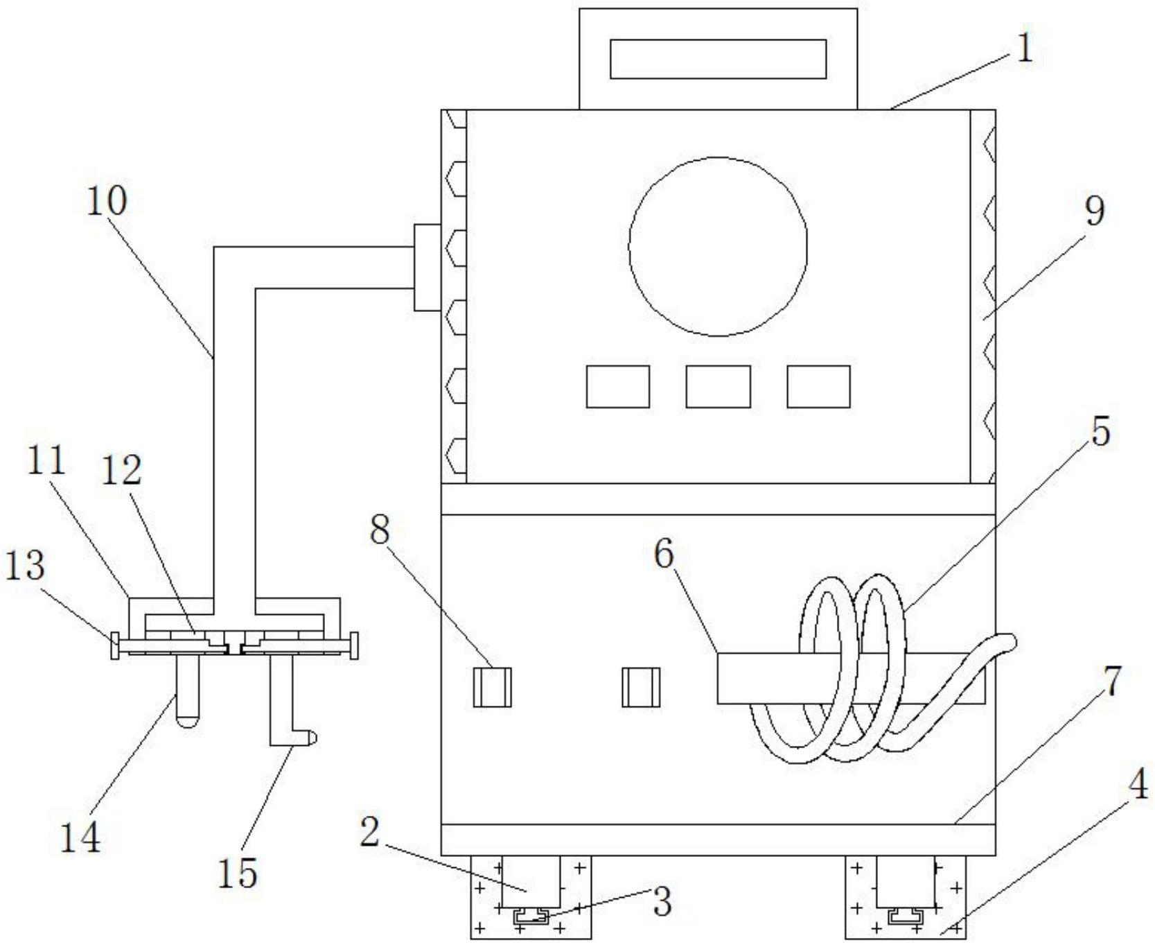
本实用新型公开了一种便于连接的车载充气泵,包括充气泵和充气管,所述充气泵的底端安装有支撑腿,所述支撑腿的底端设有限定件,所述限定件卡合安装在缓冲垫的限定槽内,所述缓冲垫位于支撑腿的外端,所述充气泵的右端连接有电源线,所述电源线的末端缠绕在绕线杆上,所述收线盒位于充气泵的底部,所述充气泵的外侧开设有透气孔,所述充气泵的左侧连接有充气管,所述充气管的末端连接有调节盘,所述调节盘的内部等间距开设有充气孔,所述充气孔的内部卡合安装有插片,所述充气孔外端连接有第一充气头和第二充气头。该便于连接的车载充气泵,利用缓冲垫减缓充气泵工作时产生的振动,提高稳定性,便于连接使用不同类型的充气头。


