授权公布号:CN218140512U
油墨盘挡风装置
有效
申请
2022-09-05
申请公布
1970-01-01
授权
2022-12-27
预估到期
2032-09-05
| 申请号 | CN202222350826.3 |
| 申请日 | 2022-09-05 |
| 授权公布号 | CN218140512U |
| 授权公告日 | 2022-12-27 |
| 分类号 | B41F9/06;B41F31/02 |
| 分类 | 印刷;排版机;打字机;模印机〔4〕; |
| 申请人名称 | 浙江方邦机械有限公司 |
| 申请人地址 | 浙江省温州市瑞安市莘塍街道前埠工业区 |
专利法律状态
2022-12-27
授权
状态信息
授权
摘要
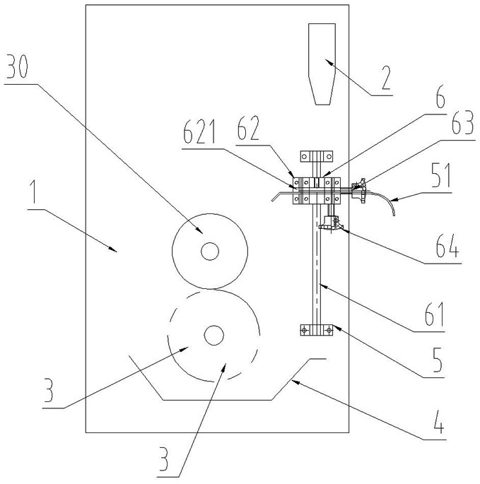
本实用新型公开了一种油墨盘挡风装置包括机架,机架上设有烘箱、印版滚筒,印版滚筒的下方设置油墨盘,在烘箱的下方安装有挡风板,挡风板设置印版滚筒的旁侧并相互靠近,该挡风板的长度大于或等于印版滚筒的长度,挡风板的宽度大于印版滚筒的直径,挡风板通过调节机构上下左右位置调节。烘箱出来的热封通过挡风板有效地阻挡,同时挡风板可更加烘箱吹出来的热封强度进行高低和左右调节,进一步调高阻挡的效果,避免使热风吹向油墨盘和印版滚筒上,防止印版滚筒表面干燥和油墨盘里的油墨表面结皮和溶剂挥发,保证了印刷的上墨的质量。


