授权公布号:CN115008873B
多功能柔版印刷机
有效
申请
2022-06-23
申请公布
2022-09-06
授权
2024-03-26
预估到期
2042-06-23
| 申请号 | CN202210717474.2 |
| 申请日 | 2022-06-23 |
| 申请公布号 | CN115008873A |
| 申请公布日 | 2022-09-06 |
| 授权公布号 | CN115008873B |
| 授权公告日 | 2024-03-26 |
| 分类号 | B41F5/24;B41F13/60 |
| 分类 | 印刷;排版机;打字机;模印机〔4〕; |
| 申请人名称 | 浙江方邦机械有限公司 |
| 申请人地址 | 浙江省温州市瑞安市上望街道荣达路777号 |
专利法律状态
2024-03-26
授权
状态信息
授权
2022-09-06
公布
状态信息
公布
摘要
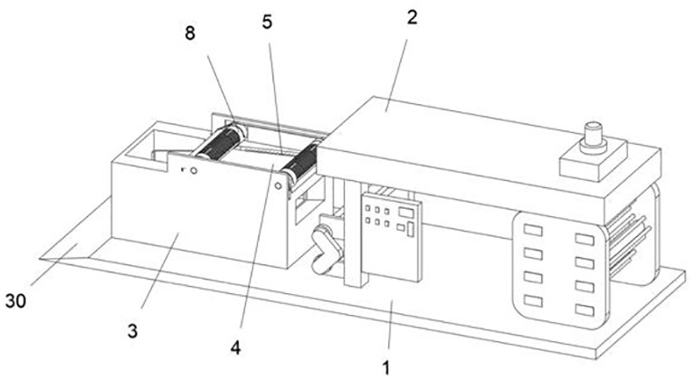
本发明涉及柔版印刷机技术领域,具体涉及多功能柔版印刷机。多功能柔版印刷机,包括底座,所述底座顶面右端固设有柔版印刷机主体,所述柔版印刷机主体左侧设有外壳,所述外壳呈U型结构,所述外壳内侧底面中部开设有导向槽,所述导向槽右部呈左小右大的等腰梯形柱结构,所述导向槽内部呈对称结构设有两个滚筒,所述导向槽底面相对于滚筒的位置开设有弧形槽,所述滚筒与弧形槽转动配合,所述滚筒底面开设有底槽,所述底槽呈弧形结构,所述导向槽左侧设有切割组件。本发明能定长并连贯的对印制好的承印物进行裁切,大大降低工作人员的操作难度,而且在将之裁切完毕后能自行打包出料,方便快捷。


