授权公布号:CN219055542U
纸袋机分组压平堆砌排列装置
有效
申请
2022-11-07
申请公布
1970-01-01
授权
2023-05-23
预估到期
2032-11-07
| 申请号 | CN202222950351.1 |
| 申请日 | 2022-11-07 |
| 授权公布号 | CN219055542U |
| 授权公告日 | 2023-05-23 |
| 分类号 | B31B70/74;B31B70/98 |
| 分类 | 纸品制作;纸的加工; |
| 申请人名称 | 上豪包装机械(镇江)有限公司 |
| 申请人地址 | 江苏省镇江市丹徒区辛丰镇基冯工业园区 |
专利法律状态
2023-05-23
授权
状态信息
授权
摘要
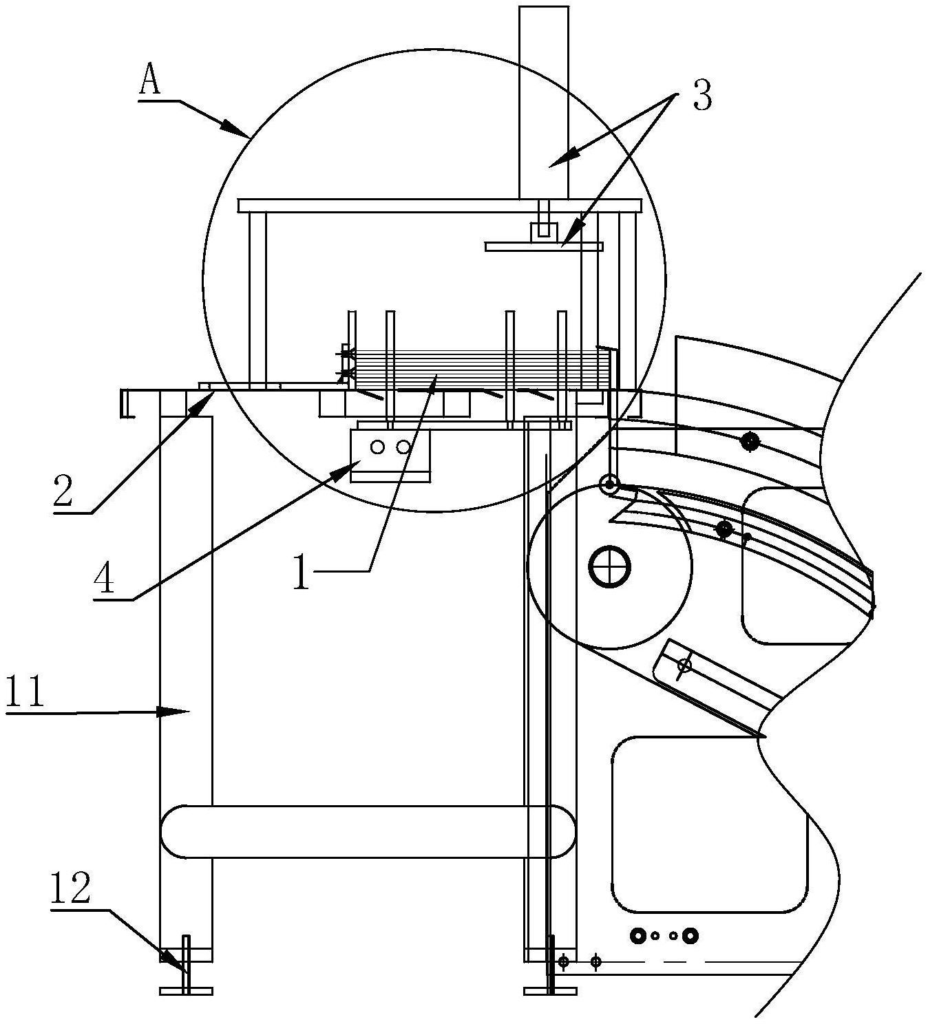
本实用新型公开了一种纸袋机分组压平堆砌排列装置。它包括与收集装置衔接的用于收集纸袋的收集台板、收集台板上方设置的压平装置以及用于对压平后的纸袋进行推送的推送排列装置;压平装置能够对堆砌至收集台板上的纸袋进行压平,推送排列装置能够对压平后的纸袋进行推送排列。采用上述的结构后,不再需要人工进行整理、压平等十分繁琐的作业内容,降低了劳动强度,大大提高了工作效率,因此可以与其它工序的进度进行有效衔接,降低了生产成本,尤其是在收集台板的下部还设置有位于各条导槽旁侧的斜板,保证纸袋能够整齐的堆砌在收集台板上,有效防止了纸袋堆砌过程中卡滞问题的发生。


