授权公布号:CN218777222U
一种再生纸扁绳生产用再生纸压痕装置
有效
申请
2022-11-21
申请公布
1970-01-01
授权
2023-03-31
预估到期
2032-11-21
| 申请号 | CN202223075405.0 |
| 申请日 | 2022-11-21 |
| 授权公布号 | CN218777222U |
| 授权公告日 | 2023-03-31 |
| 分类号 | B31F1/07 |
| 分类 | 纸品制作;纸的加工; |
| 申请人名称 | 上豪包装机械(镇江)有限公司 |
| 申请人地址 | 江苏省镇江市丹徒区辛丰镇基冯工业园区 |
专利法律状态
2023-03-31
授权
状态信息
授权
摘要
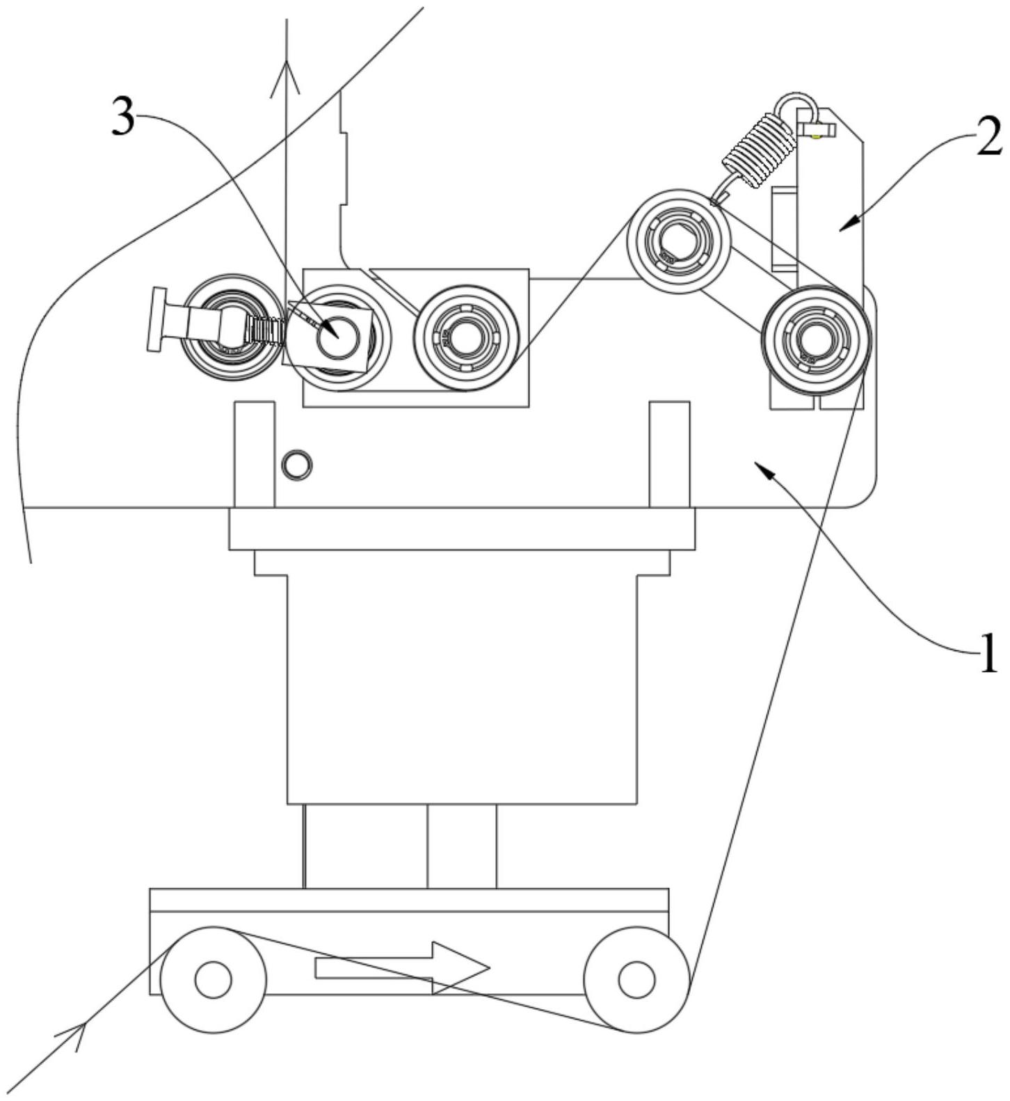
本实用新型公开了一种再生纸扁绳生产用再生纸压痕装置,其包括机架、再生纸张紧组件和再生纸压痕组件,所述再生纸张紧组件和再生纸压痕组件均设置在机架外侧壁,且所述再生纸张紧组件位于再生纸压痕组件的右侧位置,所述再生纸张紧组件用于在再生纸压痕前对再生纸进行张紧作业,并传输至再生纸压痕组件;本实用新型实现了具有在再生纸扁绳的生产过程中使再生纸始终处于张紧状态的功能,保障了成品再生纸扁绳的产品品质,还实现了具有对再生纸均匀压痕的功能,且还能自由调节压痕的深浅,并适用于对多种不同厚度的再生纸进行压痕作业,提高了该装置的适用性,该装置结构简单且实用性较强,适合被广泛推广和使用。


