授权公布号:CN212603715U
双层纸袋机的双层放料机构
有效
申请
2020-03-31
申请公布
1970-01-01
授权
2021-02-26
预估到期
2030-03-31
| 申请号 | CN202020439905.X |
| 申请日 | 2020-03-31 |
| 授权公布号 | CN212603715U |
| 授权公告日 | 2021-02-26 |
| 分类号 | B31B70/62;B31B170/20N;B31B160/10N;B31B70/10 |
| 分类 | 纸品制作;纸的加工; |
| 申请人名称 | 温州市鸿瑛机械有限公司 |
| 申请人地址 | 浙江省温州市瑞安市经济开发区上东路1888号 |
专利法律状态
2021-02-26
授权
状态信息
授权
摘要
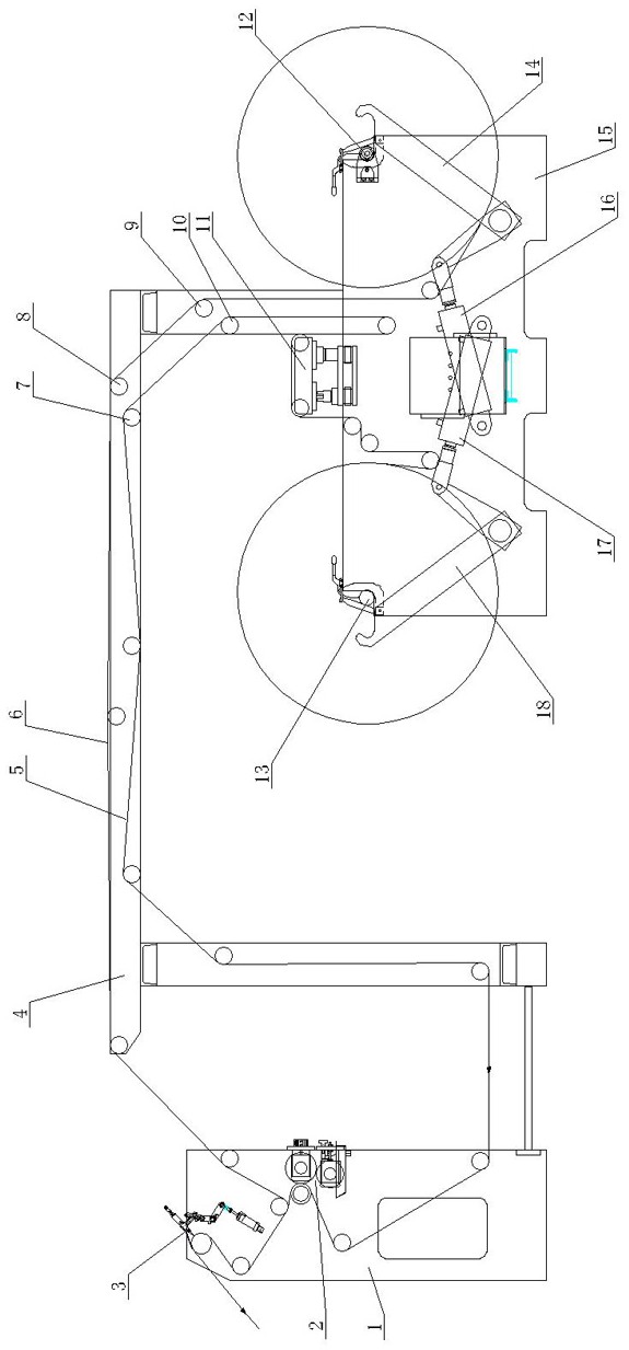
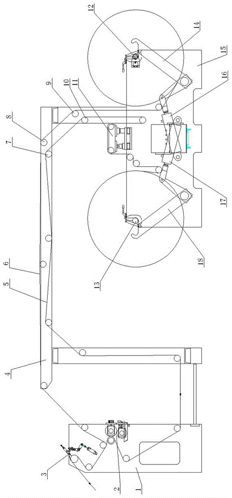
本实用新型公开了双层纸袋机的双层放料机构,其特征在于:包括双层放料机架、双层粘合机架及过料天桥架,双层放料机架在左右两侧设置外层纸机架槽和内层纸机架槽,对应外层纸机架槽,双层放料机架的左侧设有左摆臂,对应内层纸机架槽,双层放料机架的右侧设有右摆臂;过料天桥架位于双层放料机架上方,过料天桥架上安装内层纸导向辊组和外层纸导向辊组;放料工作时,外层纸的放料经纠偏装置、第一过料辊、外层纸导向辊组后被引向双层粘合机架,内层纸的放料经第二过料辊、内层纸导向辊组后被引向双层粘合机架,双层粘合机架上安装有双层粘合上胶装置和边胶涂胶装置。本实用新型用于双层点状粘合纸袋的制作放料,保证双层纸袋质量。


