授权公布号:CN217532098U
纸袋上手挽机构
有效
申请
2022-05-23
申请公布
1970-01-01
授权
2022-10-04
预估到期
2032-05-23
| 申请号 | CN202221240028.9 |
| 申请日 | 2022-05-23 |
| 授权公布号 | CN217532098U |
| 授权公告日 | 2022-10-04 |
| 分类号 | B31B70/86 |
| 分类 | 纸品制作;纸的加工; |
| 申请人名称 | 温州市鸿瑛机械有限公司 |
| 申请人地址 | 浙江省温州市瑞安市经济开发区上东路1888号 |
专利法律状态
2022-10-04
授权
状态信息
授权
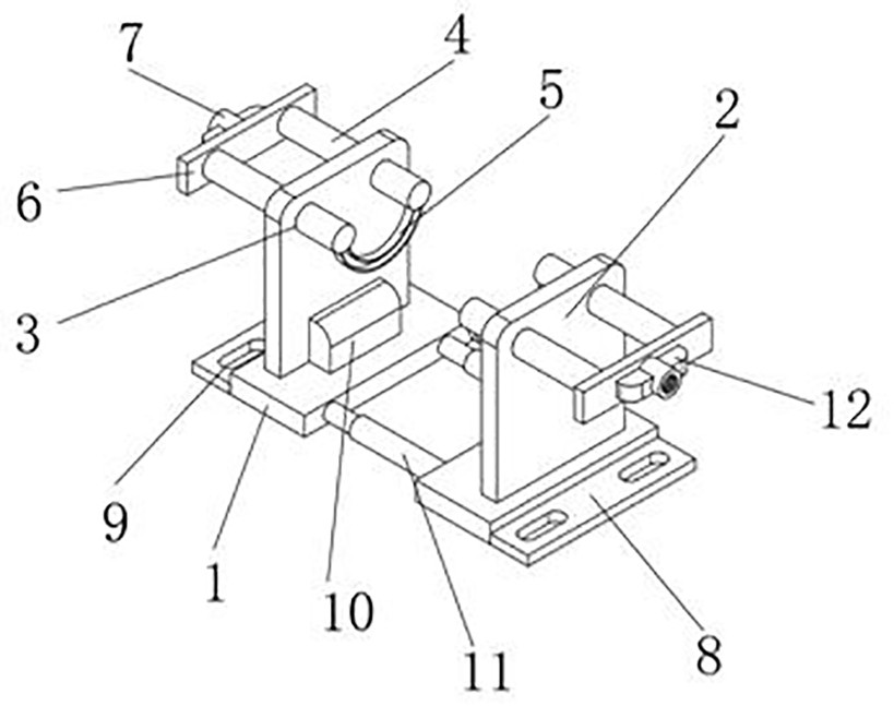
摘要
本实用新型公开了纸袋生产领域的纸袋上手挽机构,包括两个安装座,两个安装座呈对称状设置,两个安装座顶壁相离一侧中间位置固定连接有第一连接板,两个安装座相向一侧侧壁之间呈前后对称状固定连接有两个伸缩杆,整体设置有可调节式的纸袋上手挽机构安装结构,进行纸袋上手挽机构装配安装时,两个安装座为活动式结构设计,可针对不同的安装工位尺寸进行适应性强的安装工作。本实用新型通过整体采用良好的双面纸袋上手挽结构设计,即呈对称状设置有纸绳束缚套,且纸绳束缚套上方设置有配合贴合结构,进行纸袋的生产加工工作时,其可以进行高效快捷的纸袋上手挽工作。


