授权公布号:CN209869543U
立体袋成型机的模具调节机构
有效
申请
2019-04-18
申请公布
1970-01-01
授权
2019-12-31
预估到期
2029-04-18
| 申请号 | CN201920530346.0 |
| 申请日 | 2019-04-18 |
| 授权公布号 | CN209869543U |
| 授权公告日 | 2019-12-31 |
| 分类号 | B31B70/00 |
| 分类 | 纸品制作;纸的加工; |
| 申请人名称 | 温州欧伟机械股份有限公司 |
| 申请人地址 | 浙江省温州市平阳县滨海新区海润路3-11号 |
专利法律状态
2023-01-06
专利权人的姓名或者名称、地址的变更
状态信息
专利权人的姓名或者名称、地址的变更;IPC(主分类):B31B70/00;变更事项:专利权人;变更前:浙江欧诺机械有限公司;变更后:浙江欧诺机械有限公司;变更事项:地址;变更前:325400 浙江省温州市平阳县新兴产业园区域建设用海规划区内F-02-3区域;变更后:325400 浙江省温州市平阳县滨海新区海润路3-11号
2021-01-01
专利申请权、专利权的转移
状态信息
专利权的转移;IPC(主分类):B31B70/00;登记生效日:20201222;变更事项:专利权人;变更前:温州欧伟机械股份有限公司;变更后:浙江欧诺机械有限公司;变更事项:地址;变更前:325400 浙江省温州市平阳县新兴产业园区域建设用海规划区内F-02-3区域;变更后:325400 浙江省温州市平阳县新兴产业园区域建设用海规划区内F-02-3区域
2019-12-31
授权
状态信息
授权
摘要
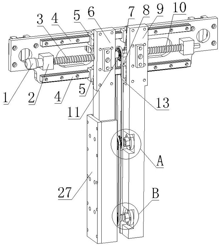
本实用新型公开了立体袋成型机的模具调节机构,具有成型模具组件,其特征在于包括可转动设置的第一调节螺杆(7),所述成型模具组件包括左模具(6)和右模具(9),所述第一调节螺杆(7)上设有与所述左模具(6)螺接的左螺纹段(3),以及与所述右模具(9)螺接的右螺纹段(10),所述左螺纹段(3)和右螺纹段(10)的螺旋方向相反。本实用新型结构简单,设计合理,能够根据立体袋规格的变化,方便地调节模具的宽度,并能够保证模具调节到位后位置的稳定性。


