授权公布号:CN108656635B
一种直线电机式手提成型设备及手提成型方法
有效
申请
2018-03-28
申请公布
2018-10-16
授权
2019-12-31
预估到期
2038-03-28
| 申请号 | CN201810263179.8 |
| 申请日 | 2018-03-28 |
| 申请公布号 | CN108656635A |
| 申请公布日 | 2018-10-16 |
| 授权公布号 | CN108656635B |
| 授权公告日 | 2019-12-31 |
| 分类号 | B31D1/06 |
| 分类 | 纸品制作;纸的加工; |
| 申请人名称 | 江苏南江智能装备股份有限公司 |
| 申请人地址 | 江苏省无锡市锡山经济开发区芙蓉一路新徐路9号 |
专利法律状态
2019-12-31
授权
状态信息
授权
2018-11-09
实质审查的生效
状态信息
实质审查的生效IPC(主分类):B31D 1/06
2018-10-16
公布
状态信息
公布
摘要
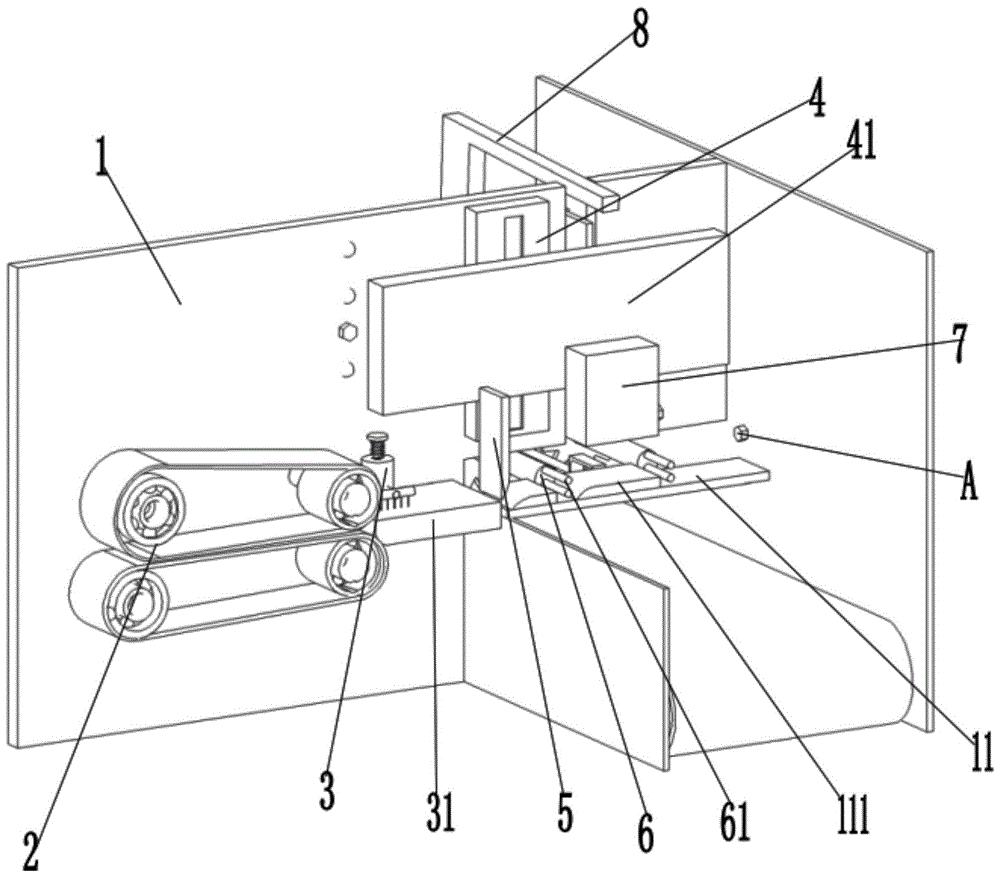
本发明涉及手提加工制造领域,特别涉及一种直线电机式手提成型设备及手提成型法。所述直线电机式手提成型设备包括:工作板、传输机构、上胶机构、直线电机、刀具、翻折机构、压块、脱离机构;所述传输机构设置在工作板的横向侧板上;所述直线电机设置在工作板的横向侧板的上部,且设置在上胶机构的后端;所述刀具设置在上胶机构下方的纸料槽的末端一侧,且设置在电机滑块的下方;所述翻折机构设置在刀具的后端。本发明利用衔接紧密的有序工艺步骤,就可以快速有效完成手提制作。


