授权公布号:CN217373690U
包装机跟标冲孔装置
有效
申请
2021-07-31
申请公布
1970-01-01
授权
2022-09-06
预估到期
2031-07-31
| 申请号 | CN202121766560.X |
| 申请日 | 2021-07-31 |
| 授权公布号 | CN217373690U |
| 授权公告日 | 2022-09-06 |
| 分类号 | B31B70/14;B31B70/74 |
| 分类 | 纸品制作;纸的加工; |
| 申请人名称 | 温州高翔机械有限公司 |
| 申请人地址 | 浙江省温州市瑞安市南滨街道宋浦东路1555号云江标准厂房机械区2幢301室 |
专利法律状态
2022-09-06
授权
状态信息
授权
摘要
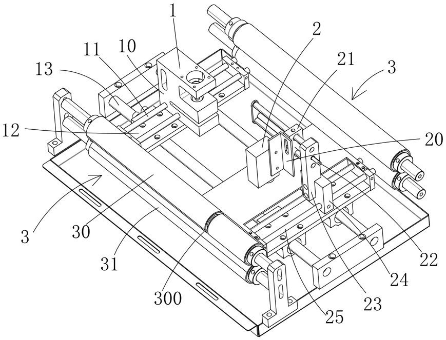
本实用新型创新提供了一种在打孔时保证塑料膜处于水平状态的包装机跟标冲孔装置。这种包装机跟标冲孔装置包括有跟标机构与冲孔机构,其特征在于:所述冲孔机构的两侧均设有紧张辊组,每个紧张辊组包括有上辊与下辊,所述上辊具有让包装袋上的胶带通过的环形槽。这种包装机跟标冲孔装置通过在冲孔机构的两侧均设置紧张辊组,可以让塑料膜处于水平张紧状态,这样冲孔机构就可以稳定地冲孔。


