授权公布号:CN217320803U
一种片状物料包装机的物料封装装置
有效
申请
2022-02-08
申请公布
1970-01-01
授权
2022-08-30
预估到期
2032-02-08
| 申请号 | CN202220256043.6 |
| 申请日 | 2022-02-08 |
| 授权公布号 | CN217320803U |
| 授权公告日 | 2022-08-30 |
| 分类号 | B65B1/24;B65B51/10;B65B57/04 |
| 分类 | 输送;包装;贮存;搬运薄的或细丝状材料; |
| 申请人名称 | 温州高翔机械有限公司 |
| 申请人地址 | 浙江省温州市瑞安市南滨街道宋浦东路1555号云江标准厂房机械区2幢301室 |
专利法律状态
2022-08-30
授权
状态信息
授权
摘要
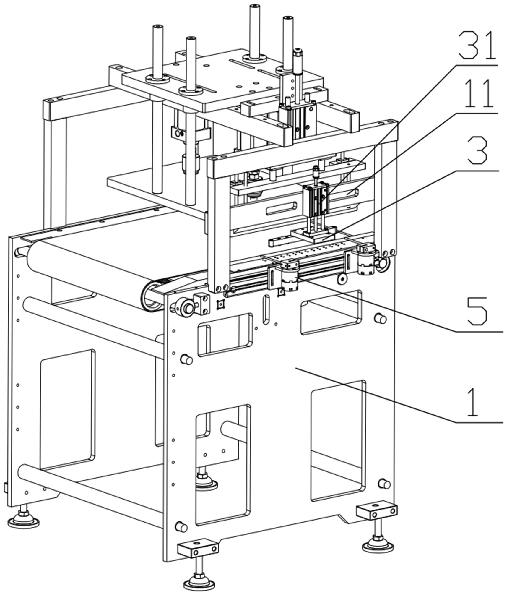
本实用新型涉及片状物料包装设备领域,公开一种片状物料包装机的物料封装装置,包括机架、压板和热封机构,机架上设有供物料通过的输送平台,输送平台的输送路径上至少具有用于置放物料热封的封合工位;压板可上下运动,当压板下压时,压板部分或全部覆盖在输送平台用于对位于压板和输送平台之间的物料进行挤压;热封机构包括对物料进行热封的封头,封头与封头动力源传动连接并在封头动力源的驱动下工作;本实用新型通过压板对着包装袋下压,压板可以覆盖包装袋,通过压力对包装袋内的空气进行挤压,保证包装袋内部空气含量少,使包装袋封装后塑料袋和内部物料平整,利于后续的存放和运输,也使包装的物料更加平整美观。


