授权公布号:CN207581577U
便携式户外饮用水净水杯
有效
申请
2017-08-22
申请公布
1970-01-01
授权
2018-07-06
预估到期
2027-08-22
| 申请号 | CN201721056439.1 |
| 申请日 | 2017-08-22 |
| 授权公布号 | CN207581577U |
| 授权公告日 | 2018-07-06 |
| 分类号 | C02F9/14 |
| 分类 | 水、废水、污水或污泥的处理; |
| 申请人名称 | 上海谷奇核孔膜科技股份有限公司 |
| 申请人地址 | 上海市嘉定区彭封路109号 |
专利法律状态
2018-07-06
授权
状态信息
授权
摘要
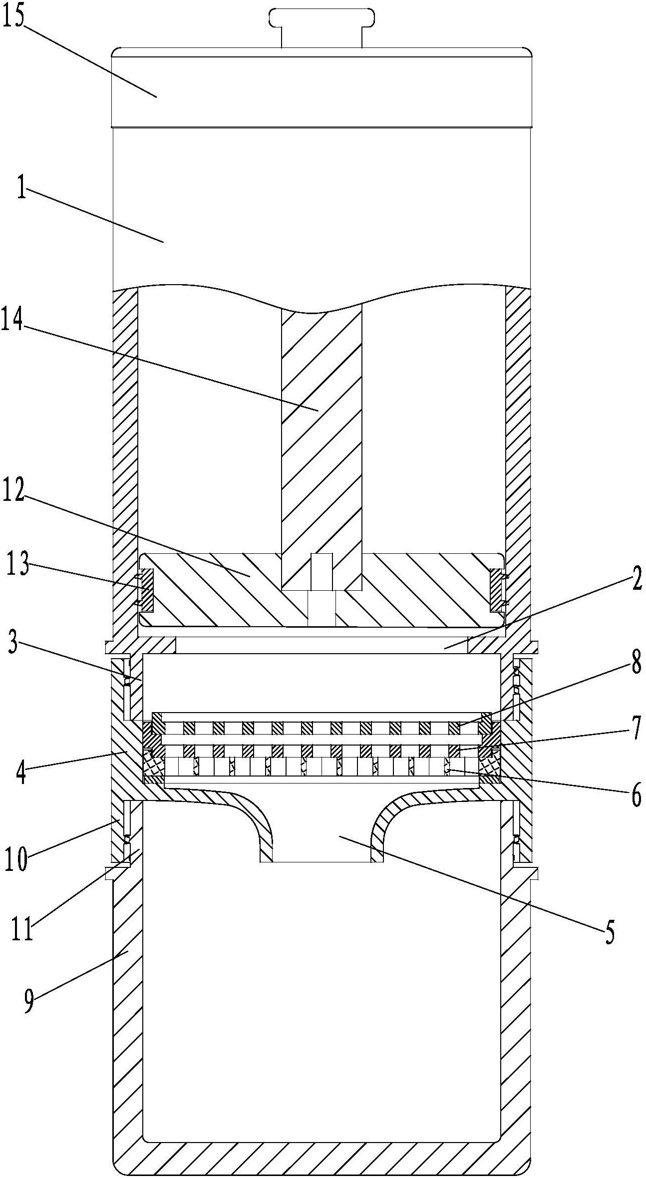
本实用新型公开了一种便携式户外饮用水净水杯,包括上端敞口用于装污水的污水杯,所述污水杯的下端设置有出水口,所述污水杯的下端安装有滤芯装置,所述滤芯装置的下端连接有上端敞口的净水杯,污水通过所述滤芯装置过滤进入所述净水杯。本实用新型便携式户外饮用水净水杯能过滤自然水体中的泥沙、细菌、病毒、重金属、寄生虫、有机物等有害物质,并能有效去除异味,过滤后的饮用水使用安全、健康,其上的滤芯装置结构简单,更换方便,成本低,可反复清洗、重复使用,滤芯装置所占空间小,过滤面积和过滤效率高,装配工艺简单,纳污能力强,使用寿命长。


