授权公布号:CN214273336U
一种锁定装置及推拉门窗
有效
申请
2020-05-25
申请公布
1970-01-01
授权
2021-09-24
预估到期
2030-05-25
| 申请号 | CN202020893161.9 |
| 申请日 | 2020-05-25 |
| 授权公布号 | CN214273336U |
| 授权公告日 | 2021-09-24 |
| 分类号 | E06B3/46;E05C19/00 |
| 分类 | 一般门、窗、百叶窗或卷辊遮帘;梯子; |
| 申请人名称 | 广东坚美定制门窗系统有限公司 |
| 申请人地址 | 广东省佛山市南海区狮山镇桃园路狮山有色金属园1号(办公楼)五层自编2室 |
专利法律状态
2021-09-24
授权
状态信息
授权
摘要
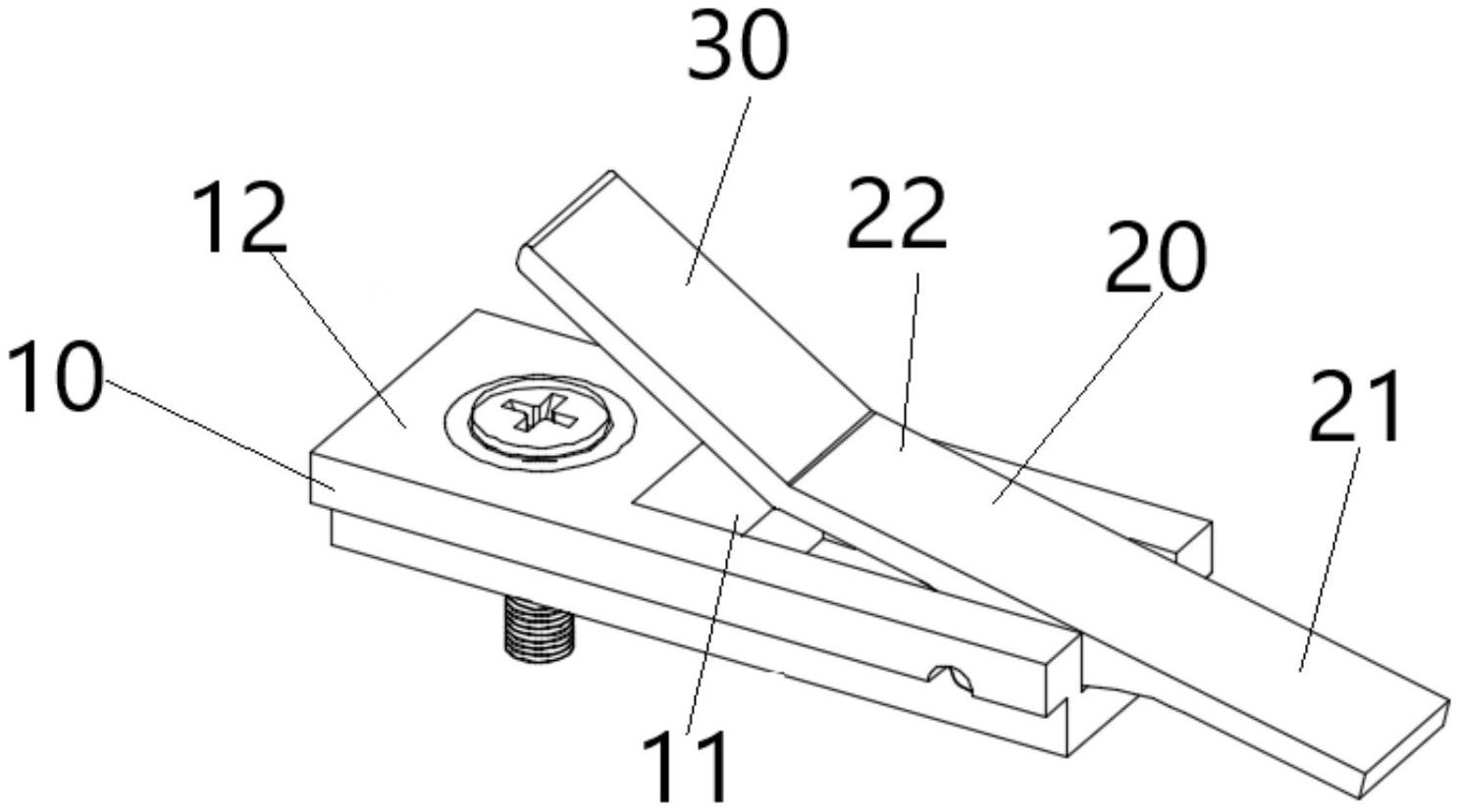
本发明公开了一种锁定装置,包括底座、限位板以及与限位板连接的压板,底座上开设有一端开口的空槽,底座在空槽的另一端形成限位平面,限位板设置于空槽中通过转动机构与空槽转动连接;限位板的第一端伸出空槽的开口端,限位板的第二端与压板连接,压板与限位板呈第一预定夹角,压板伸出空槽延伸到限位平面上方,限位板以转动机构为轴上下转动。本申请的锁定装置结构简单,耐用性好,通用性强等,无论是重新制作的新推拉门窗还是已经交付使用的旧推拉门窗,均可通过增加安装此锁定装置,即可达到推拉门窗的防误操作,提高推拉门的使用寿命。


