授权公布号:CN208734244U
一种组合装饰盖
有效
申请
2018-05-16
申请公布
1970-01-01
授权
2019-04-12
预估到期
2028-05-16
| 申请号 | CN201820733574.3 |
| 申请日 | 2018-05-16 |
| 授权公布号 | CN208734244U |
| 授权公告日 | 2019-04-12 |
| 分类号 | E06B3/30 |
| 分类 | 一般门、窗、百叶窗或卷辊遮帘;梯子; |
| 申请人名称 | 广东坚美定制门窗系统有限公司 |
| 申请人地址 | 广东省佛山市南海区狮山镇桃园路狮山有色金属园1号(办公楼)五层自编2室 |
专利法律状态
状态信息
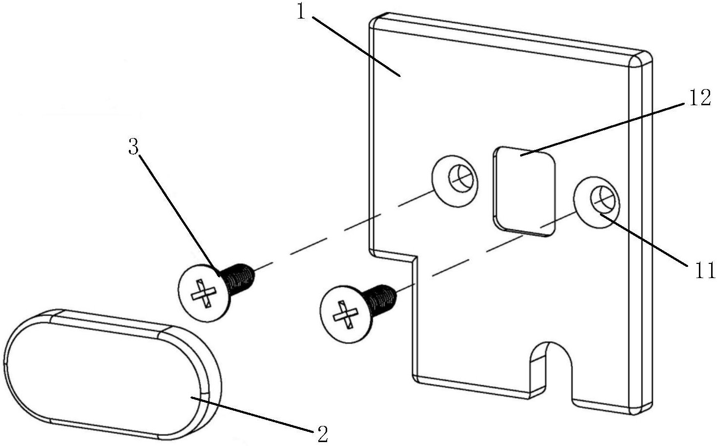
摘要
本实用新型提供了一种组合装饰盖,包括装饰盖和封盖,所述封盖卡设在所述装饰盖的第一侧。本实用新型提供的组合装饰盖通过设置封盖,不仅能够实现对紧固件的覆盖遮挡,提高其美观性,还可以有效避免装饰盖与框料之间的撞击,确保其使用寿命。


