授权公布号:CN217601817U
一种装配式建筑楼板隔声砂浆结构
有效
申请
2022-03-30
申请公布
1970-01-01
授权
2022-10-18
预估到期
2032-03-30
| 申请号 | CN202220731809.1 |
| 申请日 | 2022-03-30 |
| 授权公布号 | CN217601817U |
| 授权公告日 | 2022-10-18 |
| 分类号 | E04B5/02;E04B1/86;E04B1/68 |
| 分类 | 建筑物; |
| 申请人名称 | 北京艺高世纪科技股份有限公司 |
| 申请人地址 | 北京市顺义区中关村科技园区顺义园印刷产业基地中心路16号 |
专利法律状态
2022-10-18
授权
状态信息
授权
摘要
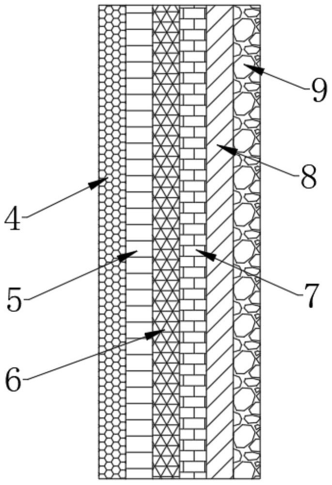
本实用新型公开了一种装配式建筑楼板隔声砂浆结构,包括楼板,所述楼板的内部开设有空腔,所述空腔内底壁的中部活动连接有隔声砂浆结构本体;所述隔声砂浆结构本体内部的顶部固定连接有抗裂砂浆层。该一种装配式建筑楼板隔声砂浆结构,通过蜂巢板层、吸音层、消音层和隔音层的设置,蜂巢板层受力平均、耐压力强,有效的避免了回音的聚集,吸音层对噪音进行消减,减少噪音传播,进一步的降噪,消音层可进行噪音的往复反弹吸收,可有效的降低噪音音量,隔音层将噪音进行有效阻隔,多重隔音降噪结构,使噪音得到有效的消散,不仅增加了装置的隔音降噪性,还大大提高了装置的实用性,达到高性能住宅的隔声要求。


