授权公布号:CN206447226U
砂石输送装置
有效
申请
2017-01-21
申请公布
1970-01-01
授权
2017-08-29
预估到期
2027-01-21
| 申请号 | CN201720078496.3 |
| 申请日 | 2017-01-21 |
| 授权公布号 | CN206447226U |
| 授权公告日 | 2017-08-29 |
| 分类号 | B65G47/18;B65G15/64;B65G15/30 |
| 分类 | 输送;包装;贮存;搬运薄的或细丝状材料; |
| 申请人名称 | 无锡瑞科建筑材料有限公司 |
| 申请人地址 | 江苏省无锡市新区硕放工业园五期 |
专利法律状态
2017-08-29
授权
状态信息
授权
摘要
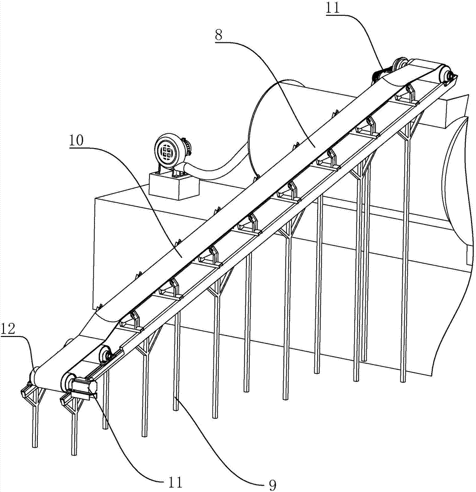
本实用新型公开了一种砂石输送装置,其技术方案要点是包括初步储料斗、位于初步储料斗面向地面一侧的输送装置,所述输送装置包括支架、位于支架上的传送带,所述支架上两端设置电机,所述传送带张紧于电机的输出轴上,所述支架背离地面的一侧设有限位轨,所述传送带面向机架的一侧设置有容纳限位轨的限位槽。通过采用上述技术方案,当传送带被电机带动转动时,限位轨卡嵌在限位槽中,在传送带运动过程中始终保持与支架的相对位置尽量不变,使传送过程稳定,减少砂石由于传送带的偏移带来的侧漏的情况。


