授权公布号:CN209139408U
高性能减水剂液料反应釜清洗装置
有效
申请
2018-12-10
申请公布
1970-01-01
授权
2019-07-23
预估到期
2028-12-10
| 申请号 | CN201822064772.8 |
| 申请日 | 2018-12-10 |
| 授权公布号 | CN209139408U |
| 授权公告日 | 2019-07-23 |
| 分类号 | B08B9/093;B08B13/00 |
| 分类 | 清洁; |
| 申请人名称 | 湖南先锋建材有限公司 |
| 申请人地址 | 湖南省长沙市开福区湘江中路一段52号凯乐国际城9栋1108室湖南先锋建材有限公司 |
专利法律状态
2019-07-23
授权
状态信息
授权
摘要
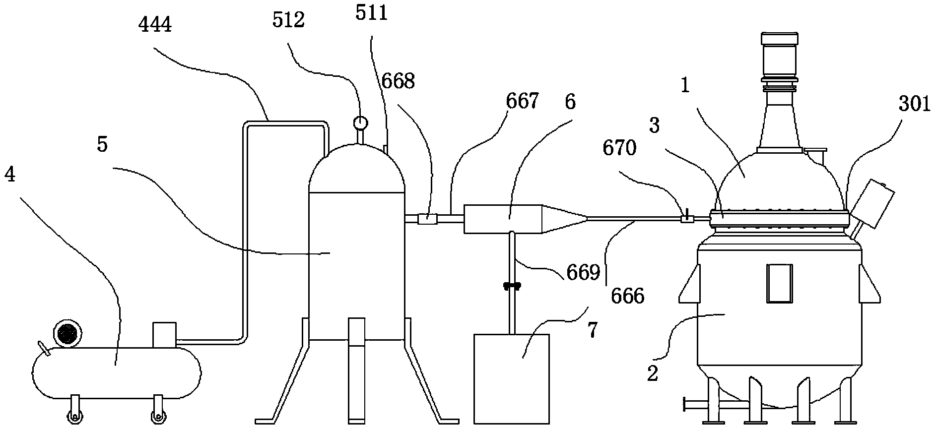
本实用新型公开了一种高性能减水剂液料反应釜清洗装置,包括固定于釜体和釜盖之间的环形的分流盒,还包括空气压缩器、空气增压罐、高速混合室和储液罐,其特征在于:所述分流盒分别与所述釜体和釜该之间配合有螺丝,所述分流盒具有上、下两个平行的平面,在所述平面上环形分布有竖向设置的喷淋孔,该喷淋孔的孔径为0.4mm~0.65mm,在所述分流盒的内侧设置有两个呈上、下对称设置的斜面,两个斜面之间所形成的夹角角度为15~30°,在所述斜面上环形分布有第一喷淋孔,所述第一喷淋孔垂直于所述斜面,所述第一喷淋孔的孔径为0.4mm~0.65mm;本产品可以与反应釜之间固定安装,并且可以对反应釜的内部进行高压冲洗。


