授权公布号:CN209138495U
防水涂料混合装置
有效
申请
2018-11-07
申请公布
1970-01-01
授权
2019-07-23
预估到期
2028-11-07
| 申请号 | CN201821827674.9 |
| 申请日 | 2018-11-07 |
| 授权公布号 | CN209138495U |
| 授权公告日 | 2019-07-23 |
| 分类号 | B01F11/00;B01F15/00 |
| 分类 | 一般的物理或化学的方法或装置; |
| 申请人名称 | 湖南先锋建材有限公司 |
| 申请人地址 | 湖南省长沙市开福区湘江中路一段52号凯乐国际城9栋1108室湖南先锋建材有限公司 |
专利法律状态
2019-07-23
授权
状态信息
授权
摘要
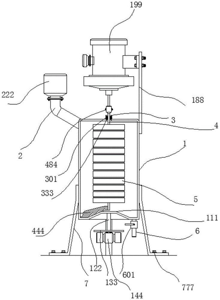
本实用新型公开了一种防水涂料混合装置,包括一混合罐,在所述混合罐外壁的靠近顶部位置处焊接有一向下进料用的料管,所述料管靠近所述混合罐的那一端倾斜向下设置,倾斜角度为相对于水平面30~60°,在所述混合罐的顶部轴心位置处加工有套管,通过所述套管配合有一轴杆,所述套管与所述轴杆之间配合有轴承,所述轴杆向下插入至所述混合罐内,所述轴杆插入至所述混合罐内的那一端装配有搅拌部,所述搅拌部为一弧形,所述搅拌部与所述轴杆之间焊接有多根连杆,所述搅拌部的内部具有通道,所述通道的一端为进料口,另一端为出料口,所述通道的宽度由进料口向着出料口处逐渐缩小;本产品可以减少搅拌涡流,增加搅拌效果。


