授权公布号:CN213534655U
一种高效自动洗车机
失效
申请
2020-11-03
申请公布
1970-01-01
授权
2021-06-25
预估到期
2030-11-03
| 申请号 | CN202022523936.6 |
| 申请日 | 2020-11-03 |
| 授权公布号 | CN213534655U |
| 授权公告日 | 2021-06-25 |
| 分类号 | B60S3/04;B60S3/06 |
| 分类 | 一般车辆; |
| 申请人名称 | 湖北远升新型材料有限公司 |
| 申请人地址 | 湖北省咸宁市咸安区马桥镇金桥村 |
专利法律状态
2023-11-10
专利权的终止
状态信息
未缴年费专利权终止;IPC(主分类):B60S3/04;专利号:ZL2020225239366;申请日:20201103;授权公告日:20210625;终止日期:
2021-06-25
授权
状态信息
授权
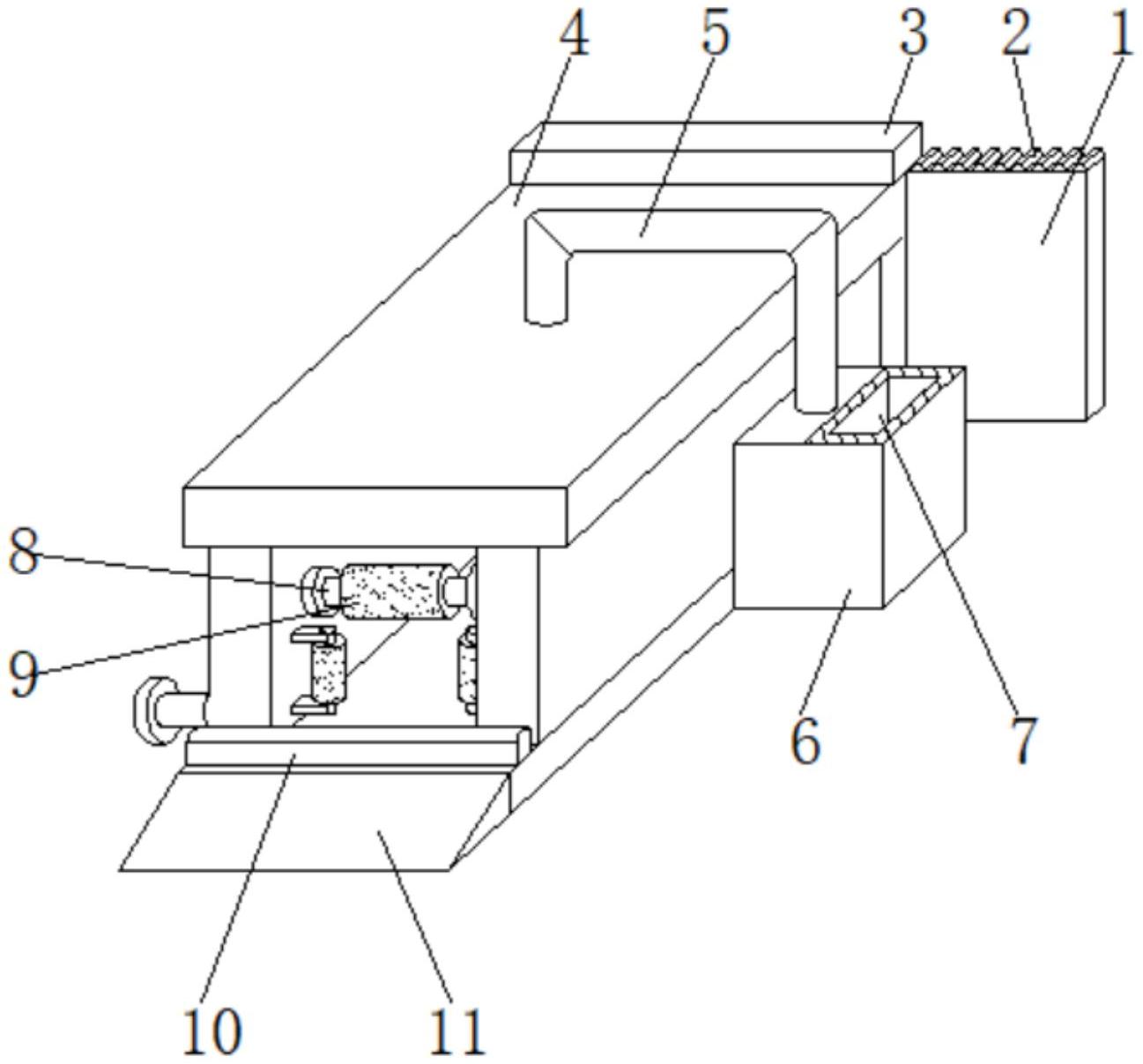
摘要
本实用新型涉及洗车机领域,公开了一种高效自动洗车机,包括滑门和主体,所述滑门的上方安装有齿条,所述主体安装于驱动箱的下方,且主体的上方安装有水管,所述水管的右侧连接有水箱,所述清洗轮的下方安装有压板,且压板的下方设置有踏板,所述驱动箱的内部设置有驱动轮,所述第一齿轮的左侧连接有皮带,所述转辊的外壁安装有卡块,所述压板的内部设置有弹簧,并且滑块的外部设置有滑槽。对本洗车机设置有滑门、齿条、第二齿轮、皮带、第一齿轮和驱动轮,大大提高了其安全性,还可以进行机械化的开启,并且设置有卡块、凹槽和清洗轮,使得方便对清洗轮进行拆解组装,同时设置有压板、弹簧、滑块和滑槽,使得具有了很好的防水功能。


