授权公布号:CN217475261U
一种咖啡机发热外管并发热丝自动装配机
有效
申请
2022-04-14
申请公布
1970-01-01
授权
2022-09-23
预估到期
2032-04-14
| 申请号 | CN202220852704.1 |
| 申请日 | 2022-04-14 |
| 授权公布号 | CN217475261U |
| 授权公告日 | 2022-09-23 |
| 分类号 | B23P19/00 |
| 分类 | 机床;不包含在其他类目中的金属加工; |
| 申请人名称 | 爱哈德电器元件(淮安)有限公司 |
| 申请人地址 | 江苏省淮安市经济技术开发区鸿海北路30号欧美工业园6号厂房 |
专利法律状态
2022-09-23
授权
状态信息
授权
摘要
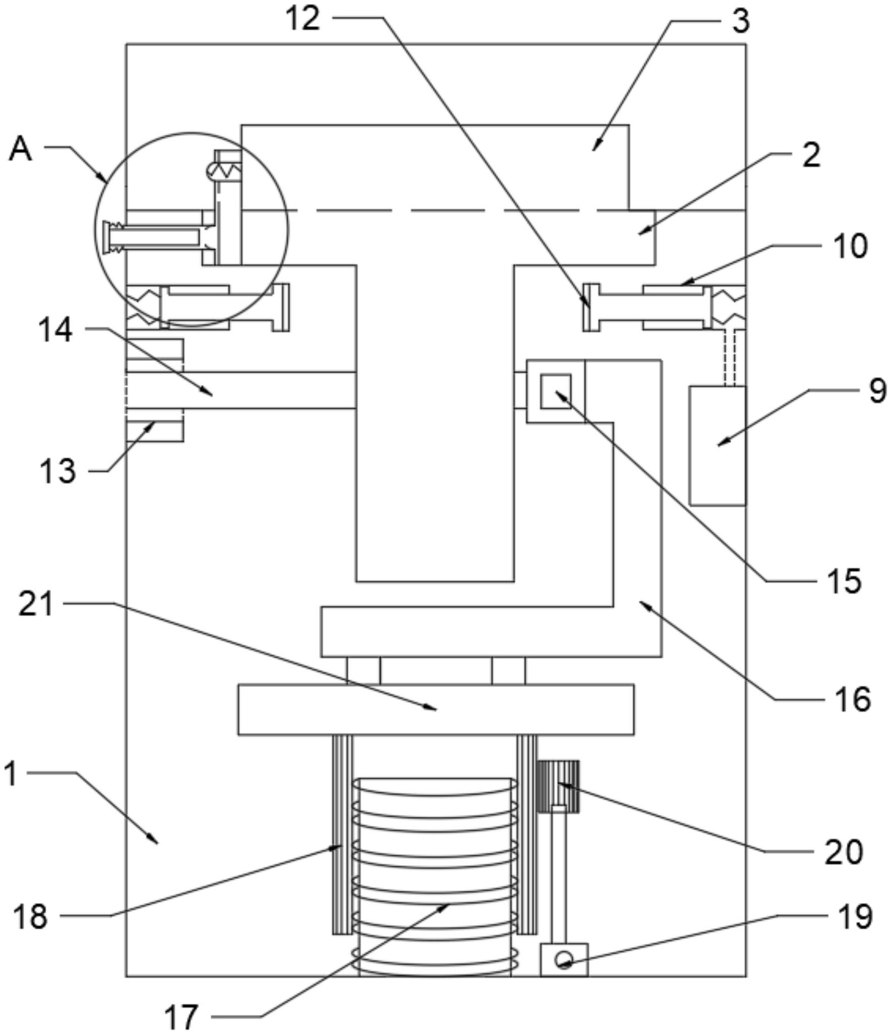
本实用新型公开了一种咖啡机发热外管并发热丝自动装配机,包含装配机主体,所述装配机主体的内侧上方设置有套槽,所述套槽的顶部滑动安装有内盒,所述内盒的左端弹簧连接有活块,所述套槽的左端固定安装有凸槽,所述活块与凸槽卡合,所述装配机主体的左端弹簧连接有拉块,所述拉块的右端焊接有拉杆,所述套槽的左端焊接有滑筒,所述拉杆与滑筒滑动连接,所述拉杆位于凸槽的左侧,所述装配机主体的内侧右上方设置有气泵,所述套槽的两侧均设置有气筒,所述气筒与装配机主体焊接,所述气泵有气筒管道连接,所述气筒的内部滑动连接有夹持杆,所述夹持杆的左端固定安装有橡胶垫,本实用新型,便捷高效地实现了均匀缠绕的功能。


