授权公布号:CN215675957U
一种冷媒充注机管路集成块
有效
申请
2021-04-30
申请公布
1970-01-01
授权
2022-01-28
预估到期
2031-04-30
| 申请号 | CN202120924766.4 |
| 申请日 | 2021-04-30 |
| 授权公布号 | CN215675957U |
| 授权公告日 | 2022-01-28 |
| 分类号 | F25B45/00 |
| 分类 | 制冷或冷却;加热和制冷的联合系统;热泵系统;冰的制造或储存;气体的液化或固化; |
| 申请人名称 | 青岛绿环工业设备有限公司 |
| 申请人地址 | 山东省青岛市城阳区城阳街道成康路328号甲联东U谷6号楼302户 |
专利法律状态
2022-01-28
授权
状态信息
授权
摘要
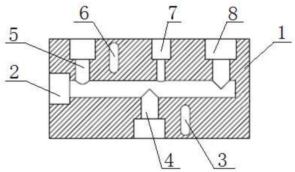
本实用新型提供了一种冷媒充注机管路集成块,包括本体、设置在本体一端的沉头孔一、设置在本体底端的沉头孔二,沉头孔二与沉头孔一连通,沉头孔一为盲孔;本体的顶部从一端到另一端依次设置有沉头孔三、沉头孔四和沉头孔五,沉头孔三、沉头孔四和沉头孔五均与沉头孔一连通;本体的侧部还设置有中心孔,中心孔与沉头孔一连通;本体的两侧设置有固定孔一和固定孔二,固定孔一和固定孔二中分别设置有定位件。本实用新型提供的冷媒充注机管路集成块,能够简化多种零件的连接结构,通过设置有管路集成块,将多个零件设置在管路集成块上,可有效减少管路的连接长度,节省了空间。


