授权公布号:CN109361002B
一种大功率燃料电池测试台用增湿器
有效
申请
2018-11-30
申请公布
2019-02-19
授权
2023-09-19
预估到期
2038-11-30
| 申请号 | CN201811455230.1 |
| 申请日 | 2018-11-30 |
| 申请公布号 | CN109361002A |
| 申请公布日 | 2019-02-19 |
| 授权公布号 | CN109361002B |
| 授权公告日 | 2023-09-19 |
| 分类号 | H01M8/04119 |
| 分类 | 基本电气元件; |
| 申请人名称 | 安徽明天氢能科技股份有限公司 |
| 申请人地址 | 安徽省六安市金安区国道312与新阳大道交叉口 |
专利法律状态
2023-09-19
授权
状态信息
授权
2019-03-15
实质审查的生效
状态信息
实质审查的生效;IPC(主分类):H01M8/04119;申请日:20181130
2019-02-19
公布
状态信息
公布
摘要
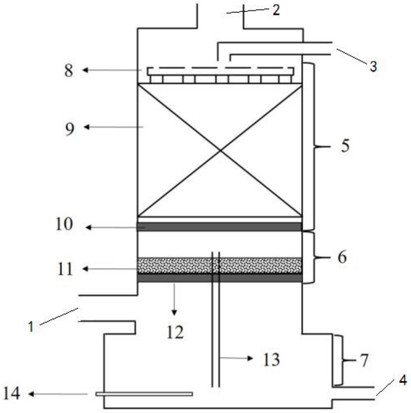
本发明公开一种大功率燃料电池测试台用增湿器,包括鼓泡增湿区、位于鼓泡增湿区上部的喷淋增湿区和位于鼓泡增湿区下部的储水区,所述鼓泡增湿区与喷淋增湿区之间留有空间,所述鼓泡增湿区的下部设有气体进口,所述喷淋增湿区的顶部设有气体出口与去离子水进口,所述储水区的底部设有去离子水出口,去离子水进口与去离子水出口之间通过外部管道连接。本发明采用鼓泡增湿和喷淋增湿相结合的方式,可达到良好的增湿效果,喷淋增湿区高比表面积填料,可实现高效增湿,同时防止液态水进入燃料电池;采用喷淋装置代替喷嘴,控制简单,成本低廉;本发明内部无转动部件,使用寿命长。


