授权公布号:CN219623317U
一种压力可调式安全阀
有效
申请
2023-05-24
申请公布
1970-01-01
授权
2023-09-01
预估到期
2033-05-24
| 申请号 | CN202321269351.3 |
| 申请日 | 2023-05-24 |
| 授权公布号 | CN219623317U |
| 授权公告日 | 2023-09-01 |
| 分类号 | F16K17/06;F16K17/164;F16K47/02;F17C13/04;H01M8/04 |
| 分类 | 工程元件或部件;为产生和保持机器或设备的有效运行的一般措施;一般绝热; |
| 申请人名称 | 安徽明天氢能科技股份有限公司 |
| 申请人地址 | 安徽省六安市集中示范园区管理委员会6楼 |
专利法律状态
2023-09-01
授权
状态信息
授权
摘要
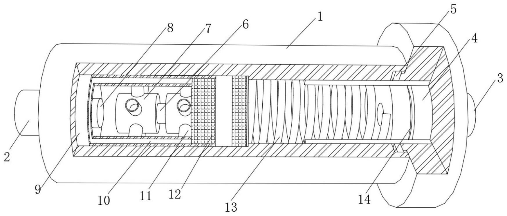
本实用新型公开了一种压力可调式安全阀,包括阀体,所述阀体的一端通过螺纹连接有底座;所述阀体的一端固定连接有与阀体内腔相连通的进气口,所述底座的一端固定连接有与阀体内腔相连通的出气口;靠近进气口的所述阀体圆周内壁设置有气体导向部,气体导向部包括插设于阀体内壁的导向块、设置于导向块内壁的气腔、两个设置于导向块内壁的气流分布结构;靠近弹簧的所述阀体圆周内壁固定连接有环形插板,环形插板的外壁与导向块的内壁形成滑动配合。本实用新型设置气体导向部能够调节不同流速的氢气经过安全阀时的速率,通过控制氢气的流速,以及在氢气流速过快时能够限制住氢气,以防止氢气直接冲击电池组。


