授权公布号:CN114759222B
一种适用于低温冷启动的氢气供应系统
有效
申请
2022-03-30
申请公布
2022-07-15
授权
2023-10-20
预估到期
2042-03-30
| 申请号 | CN202210321868.6 |
| 申请日 | 2022-03-30 |
| 申请公布号 | CN114759222A |
| 申请公布日 | 2022-07-15 |
| 授权公布号 | CN114759222B |
| 授权公告日 | 2023-10-20 |
| 分类号 | H01M8/04082;H01M8/04089;H01M8/0432;H01M8/0438 |
| 分类 | 基本电气元件; |
| 申请人名称 | 安徽明天氢能科技股份有限公司 |
| 申请人地址 | 安徽省六安市集中示范园区管理委员会6楼 |
专利法律状态
2023-10-20
授权
状态信息
授权
2022-08-02
实质审查的生效
状态信息
实质审查的生效;IPC(主分类):H01M8/04082;申请日:20220330
2022-07-15
公布
状态信息
公布
摘要
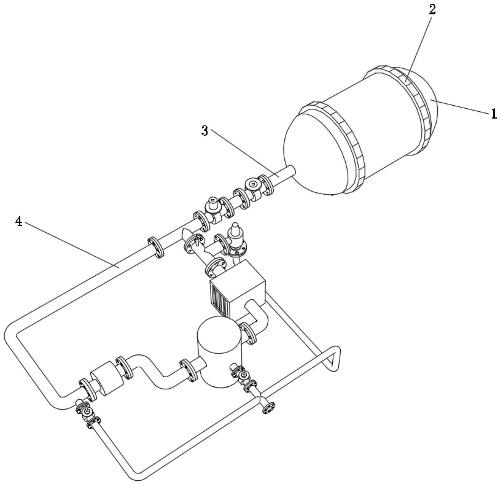
本发明公开了一种适用于低温冷启动的氢气供应系统,涉及氢气供应技术领域;为了加快燃料电池的启动速率;包括氢气存储筒、电池电堆组件、汽水分离组件和循环组件,所述氢气存储筒一端焊接有出气管,所述出气管一端固定有电磁阀,所述电磁阀一端固定有不锈钢管,所述不锈钢管一端固定有比例阀,所述比例阀一端固定有三通管一。本发明利用氢气存储筒可以用于对氢气进行供应,电磁阀作为开关阀,从而可以控制氢气的供应与断开,利用比例阀可以对氢气压力流量进行调节,保证燃料电池在各个工况下的氢气供应调节,三通管一位三通结构,从而可以对前端的氢气气源和循环组件内部的循环氢气进行混合后,导入到电池电堆组件内部。


