授权公布号:CN219176618U
一种水泵的绝缘结构、冷却液循环系统以及燃料电池系统
有效
申请
2022-12-06
申请公布
1970-01-01
授权
2023-06-13
预估到期
2032-12-06
| 申请号 | CN202223482804.9 |
| 申请日 | 2022-12-06 |
| 授权公布号 | CN219176618U |
| 授权公告日 | 2023-06-13 |
| 分类号 | F04D29/00;F04D29/62;H01M8/04029 |
| 分类 | 液体变容式机械;液体泵或弹性流体泵; |
| 申请人名称 | 国鸿氢能科技(嘉兴)股份有限公司 |
| 申请人地址 | 浙江省嘉兴市港区杭州湾新经济园37幢501室-2 |
专利法律状态
2023-06-13
授权
状态信息
授权
摘要
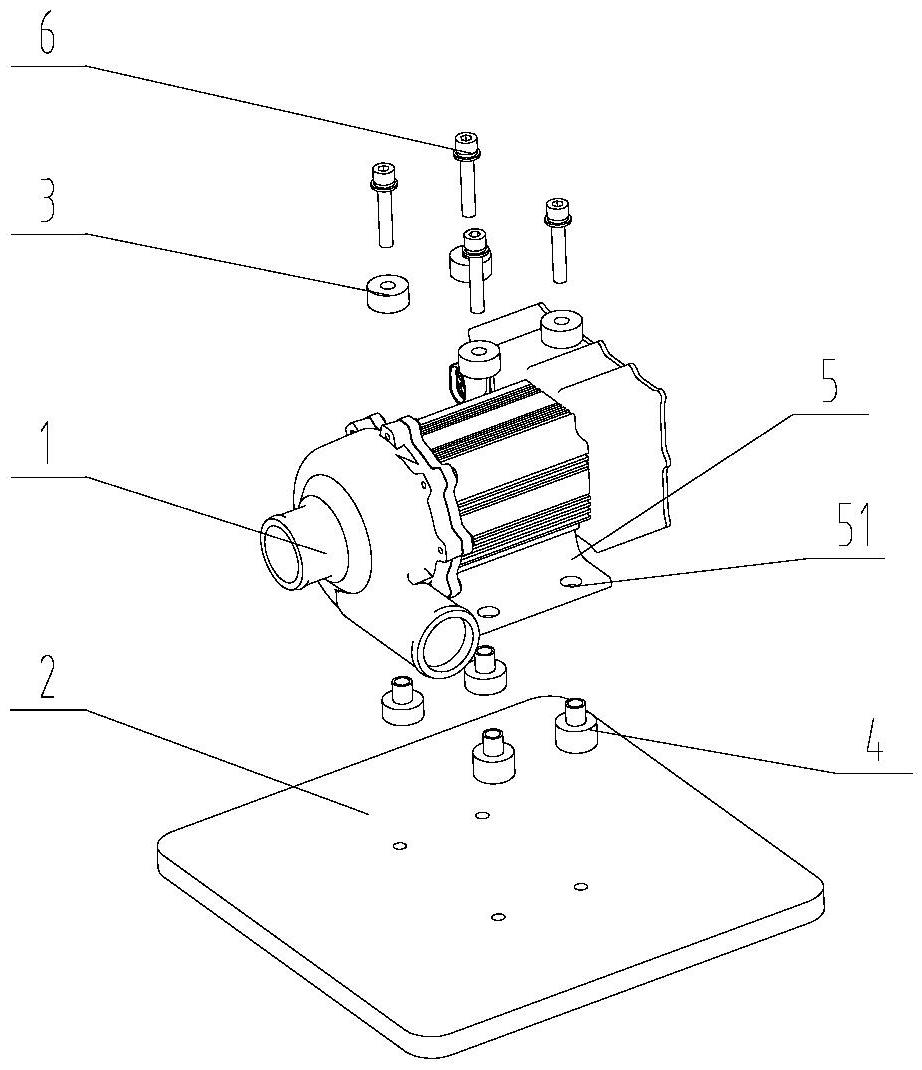
本实用新型涉及一种水泵的绝缘结构、冷却液循环系统以及燃料电池系统,其中水泵的绝缘结构包括:水泵、底板、第一绝缘安装部、第二绝缘安装部以及安装板;所述水泵与所述安装板固定连接;所述第一绝缘安装部上开设有卡槽;所述第二绝缘安装部上设置有与卡槽相对应的凸起;所述安装板上开设有限位孔;安装板卡置在所述第一绝缘安装部和所述第二绝缘安装部之间。本实用新型实施例将水泵通过第一绝缘安装部和第二绝缘安装部设置在底板上,以将水泵外壳与接地的底板绝缘,从而使水泵和电机之间无论在什么工况下均保持绝缘,以确保不会因为水泵绝缘问题而导致燃料电池系统绝缘阻值不满足标准要求,进而提高冷却液循环系统的安全性能。


