授权公布号:CN213977417U
锥形曲面钢化玻璃加工设备
有效
申请
2020-12-18
申请公布
1970-01-01
授权
2021-08-17
预估到期
2030-12-18
| 申请号 | CN202023074542.3 |
| 申请日 | 2020-12-18 |
| 授权公布号 | CN213977417U |
| 授权公告日 | 2021-08-17 |
| 分类号 | C03B23/023;C03B27/04 |
| 分类 | 玻璃;矿棉或渣棉; |
| 申请人名称 | 洛阳名特智能设备股份有限公司 |
| 申请人地址 | 河南省洛阳市孟津县送庄镇护庄村 |
专利法律状态
2021-08-17
授权
状态信息
授权
摘要
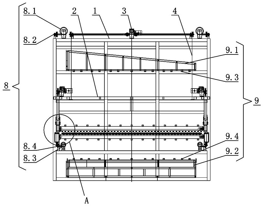
本实用新型公开了一种锥形曲面钢化玻璃加工设备,包括一机架;一抬升架,沿进出料方向水平架设于机架内;一抬升电机,设置于机架顶部,带动抬升架上下运动;一第一变弧机构,沿进出料方向设置于抬升架下方的机架上;一第二变弧机构,间隙设置于第一变弧机构下方的机架上;两组第一提拉机构,分别设置于抬升架的前、后两端,带动第一变弧机构的进料侧两角和出料侧两角向上卷曲;两组第二提拉机构,分别设置于机架的进、出料侧,带动第二变弧机构的进料侧两角和出料侧两角向上卷曲;及一送风机构,设置于机架上。本实用新型优点在于能够轻松、高效的加工出各种锥度的锥形曲面钢化玻璃,减轻加工成本,更加适合于生产企业多规格、小批量的生产需求。


