授权公布号:CN216751442U
具有保护功能的编码器
有效
申请
2021-12-08
申请公布
1970-01-01
授权
2022-06-14
预估到期
2031-12-08
| 申请号 | CN202123063826.7 |
| 申请日 | 2021-12-08 |
| 授权公布号 | CN216751442U |
| 授权公告日 | 2022-06-14 |
| 分类号 | H02K11/21 |
| 分类 | 发电、变电或配电; |
| 申请人名称 | 洛阳名特智能设备股份有限公司 |
| 申请人地址 | 河南省洛阳市孟津县送庄镇护庄村 |
专利法律状态
2022-06-14
授权
状态信息
授权
摘要
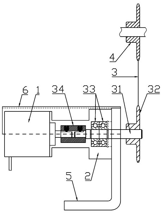
本实用新型公开了一种具有保护功能的编码器,包括编码器,编码器具有中心轴;固定座,固定座设置在中心轴侧的编码器上;从动单元,从动单元通过传动件与被测主动轮传动连接;其中,中心轴与从动单元传动连接,编码器用于把被测主动轮的角位移转换成电信号。本实用新型优点在于被测主动轮通过链条与从动轮传动连接,使被测主动轮与从动轮具有一定的传动比,将被测主动轮的高转速运动转换成从动轮的低转速运动,编码器与转轴连接,间接监测被测主动轮的转速,同时避免了被测主动轮的高速运动对编码器的损坏,监测时结构稳定,减少了编码器的故障率;本实用新型结构简单,工作稳定,易维护,成本低,以简单的结构监测高转速运动。


