授权公布号:CN216919008U
用于生产曲面钢化玻璃的反向弯曲变弧机构
有效
申请
2022-04-07
申请公布
1970-01-01
授权
2022-07-08
预估到期
2032-04-07
| 申请号 | CN202220787472.6 |
| 申请日 | 2022-04-07 |
| 授权公布号 | CN216919008U |
| 授权公告日 | 2022-07-08 |
| 分类号 | C03B23/033;C03B27/04 |
| 分类 | 玻璃;矿棉或渣棉; |
| 申请人名称 | 洛阳名特智能设备股份有限公司 |
| 申请人地址 | 河南省洛阳市孟津县送庄镇护庄村 |
专利法律状态
2022-07-08
授权
状态信息
授权
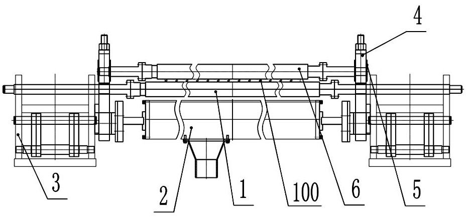
摘要
本实用新型公开了一种用于生产曲面钢化玻璃的反向弯曲变弧机构,包括下变弧机构,所述下变弧机构包括托辊以及设置在所述托辊两端用于支撑所述托辊的下变弧组件;在所述下变弧组件上分别安装有联结件,所述联结件上设置有压辊座,平行设置在所述托辊上方的上压辊两端转动穿设在所述压辊座的安装孔内。本实用新型优点在于通过将托辊和上压辊都安装在下变弧机构上,变弧过程中,托辊和上压辊同步运动,热玻璃的弯曲弧度只与下变弧机构有关,使玻璃的成形弧度准确,弧形过渡自然,提高了产品的质量和良品率。


