授权公布号:CN207243728U
钢化玻璃冷却用下风栅
有效
申请
2017-08-11
申请公布
1970-01-01
授权
2018-04-17
预估到期
2027-08-11
| 申请号 | CN201721004703.7 |
| 申请日 | 2017-08-11 |
| 授权公布号 | CN207243728U |
| 授权公告日 | 2018-04-17 |
| 分类号 | C03B27/04 |
| 分类 | 玻璃;矿棉或渣棉; |
| 申请人名称 | 洛阳名特智能设备股份有限公司 |
| 申请人地址 | 河南省洛阳市孟津县送庄镇护庄村 |
专利法律状态
2018-04-17
授权
状态信息
授权
摘要
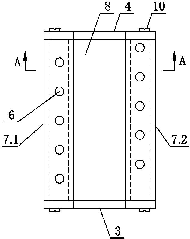
本实用新型公开了一种钢化玻璃冷却用下风栅,包括由左侧壁、右侧壁、前侧壁、后侧壁、进风板和出风板围成的风栅本体,进风板上开设有与风道相连通的进风口,出风板上开设有出风孔,出风板包括左出风板和右出风板,左出风板和右出风板的内边缘通过向风栅本体内腔延伸的U形安装槽密连为一体,U形安装槽底壁的上表面为平面结构。本实用新型结构简单,制造方便;输送辊道(或滚轮)直接安装在U形安装槽内,大大节约了安装空间,提高了安装效率;风栅出风面调节简单,特别适用于V形玻璃的冷却,将V形玻璃的成品率提高至95%以上,节约原料;相邻两辊道之间均布置有左出风板和右出风板,增加了出风面积,提高了冷却效率,确保玻璃成品颗粒度均匀。


